Contingut no disponible en català

Us trobeu en

Documento BOE-A-2001-17845

Ley 8/2001, de 28 de junio, para la Ordenación de las Instalaciones de Radiocomunicación en Castilla-La Mancha.Ver texto consolidado

Publicado en:
«BOE» núm. 227, de 21 de septiembre de 2001, páginas 35212 a 35218 (7 págs.)
Sección:
I. Disposiciones generales
Departamento:
Comunidad Autónoma de Castilla-La Mancha
Referencia:
BOE-A-2001-17845
Permalink ELI:
https://www.boe.es/eli/es-cm/l/2001/06/28/8

TEXTO ORIGINAL

Las Cortes de Castilla-La Mancha han aprobado y yo, en nombre del Rey, promulgo la siguiente Ley.

EXPOSICIÓN DE MOTIVOS

I

Las nuevas tecnologías vinculadas a la denominada Sociedad de la Información y de la Comunicación y especialmente el desarrollo de la telefonía móvil y de sus infraestructuras de comunicación han tenido en los últimos años una gran expansión, desde los servicios ofertados hasta las infraestructuras necesarias para soportarlos. Estas infraestructuras absolutamente necesarias para dar un servicio de calidad, se extienden por todo nuestro territorio, desde ciudades a zonas rurales, formando parte de nuestro entorno.

Esta Ley tiene por objeto la regulación de las infraestructuras de radiocomunicación, y especialmente, de las infraestructuras de telefonía móvil con la finalidad de ordenar y planificar la distribución de las mismas en el territorio de la Comunidad Autónoma y prevenir y proteger la salud de la población y minimizar el impacto medioambiental, visual y urbanístico, que estas infraestructuras producen

II

El artículo 43 de la Constitución Española, establece el derecho a la protección de la salud, y la obligación de los poderes públicos de organizar y tutelar la salud pública a través de medidas preventivas. Este es, por tanto, un principio rector de la política social y económica que ha de informar la legislación, la práctica judicial y la actuación de todos los poderes públicos. La Junta de Castilla-La Mancha, siguiendo el mandato del artículo 43 de la Constitución y la Ley de Ordenación Sanitaria de Castilla-La Mancha, y teniendo en cuenta además, las recomendaciones de la Unión Europea, considera que «es absolutamente necesaria la protección de los ciudadanos de la Comunidad contra los efectos nocivos para la salud que se sabe pueden resultar de la exposición a los campos electromagnéticos».

En consonancia con lo anterior, la Directiva 97/33/CE del Parlamento Europeo y del Consejo de 30 de junio de 1997 considera que el compartir instalaciones de radiocomunicaciones puede resultar beneficioso por motivos medioambientales y urbanísticos. Es por ello, por lo que esta Ley contempla entre sus finalidades la compartición de instalaciones, al objeto de minimizar el impacto de las infraestructuras de radiocomunicaciones.

El uso compartido de los emplazamientos es una medida que contribuye a compatibilizar la existencia de las infraestructuras con el entorno y evita su proliferación desordenada. Por eso se establece en la presente Ley como instrumento de ordenación siempre que se respeten las normas básicas sobre la exposición a los campos electromagnéticos y evaluando las situaciones de efectos acumulativos.

También, de acuerdo con la finalidad de protección de la salud de los ciudadanos, esta Ley intensifica las exigencias mínimas comunitarias para la protección de la salud y la seguridad de las personas establecidas en la Recomendación del Consejo de la Unión Europea de 12 de julio de 1999. Los niveles máximos de exposición al público, que esta Ley establece, tiene como referencia las recomendaciones de la Conferencia Internacional celebrada en Salzburgo (Austria), los días 7 y 8 de junio de 2000, con unos valores máximos de emisión para la protección preventiva de la salud pública para instalaciones de telefonía móvil y otros para la irradiación de alta frecuencia, teniendo en cuenta la posible afección a niños, mayores y enfermos, pretendiendo compatibilizar el funcionamiento de las instalaciones de radiocomunicación con la adecuada protección de la población, y teniendo en cuenta la legislación específica, preventiva y precautoria de otros países.

Desde el punto de vista del impacto medioambiental, el artículo 45 de la Constitución Española establece que todos tienen el derecho a disfrutar de un medio ambiente adecuado para el desarrollo de la persona y que los poderes públicos velarán por la utilización racional de todos los recursos naturales, con el fin de proteger y mejorar la calidad de la vida. A su vez el artículo 149.1.23.o de la CE, si bien atribuye al Estado la competencia sobre legislación básica en materia de protección del medio ambiente, permite a las Comunidades Autónomas establecer normas adicionales de protección. A dicha posibilidad, hay que añadir lo dispuesto en el artículo 148.1.9.o que otorga competencias a las Comunidades Autónomas sobre la gestión en materia de protección del medio ambiente.

De acuerdo con lo anterior, esta Ley tiene también por finalidad la protección del medio ambiente, recogiéndose las limitaciones por impacto paisajístico y obligando a la mimetización de estas instalaciones para reducir su impacto visual. Con ello se consigue complementar las disposiciones que en esta materia ya se contienen en la Ley General de Telecomunicaciones (artículo 16.3) y el Reglamento de Uso del Dominio Público Radioeléctrico (artículo 8), que condicionan el emplazamiento de las antenas y estaciones bases, al cumplimiento de las disposiciones aplicables en materia de medio ambiente.

En consecuencia con lo anterior, para articular la ordenación de las infraestructuras de radiocomunicaciones en el territorio de la Comunidad Autónoma, se establece la obligación a los operadores a presentar, previamente a la solicitud de licencias, un Plan Territorial de Despliegue de Red del conjunto de todas las instalaciones, que será sometido a aprobación por el órgano competente de la Junta de Comunidades.

Finalmente, la presente Ley se dicta en virtud de las competencias atribuidas a la Comunidad Autónoma de Castilla-La Mancha, en los artículos 31 y 32 del Estatuto de Autonomía, sobre ordenación del territorio, urbanismo, promoción, prevención y restauración de la salud y protección del medio ambiente.

TÍTULO I
Disposiciones generales
Artículo 1. Objeto.

El objeto de esta Ley es la regulación de las condiciones para el establecimiento y funcionamiento de instalaciones de radiocomunicación, sus elementos y equipos, a fin de que su implantación no tenga efectos negativos sobre la salud de las personas y produzca el mínimo impacto sobre el medio ambiente desde el punto de vista espacial y visual.

Artículo 2. Ámbito de aplicación.

1. Esta Ley se aplica a todas las instalaciones fijas de radiocomunicaciones con sistemas radiantes susceptibles de generar o recibir ondas radioeléctricas en un intervalo de frecuencia comprendido entre 10 kHz a 300 GHz que se instalen en Castilla-La Mancha.

2. Se excluyen del ámbito de aplicación de esta Ley:

1. Los equipos y estaciones de Telecomunicación para la Defensa Nacional, la Seguridad Pública y Protección Civil.

2. Las instalaciones catalogadas de aficionados, siempre que reúnan las dos circunstancias siguientes:

a) Sean de potencia media inferior a 250 W.

b) Transmitan de forma discontinua.

Artículo 3. Finalidades.

Esta Ley tiene por finalidades:

a) La protección de la salud de los ciudadanos ante las posibles consecuencias que las ondas electromagnéticas pueden ocasionar sobre la misma.

b) La armonización del despliegue de las redes de radiocomunicación con la finalidad de protección del medio ambiente.

c) La integración de las estaciones base de telefonía móvil y otras estaciones de radiocomunicaciones en el entorno urbanístico y territorial.

d) La ampliación de la cobertura de los servicios de radiocomunicación a todo el territorio de Castilla-La Mancha.

TÍTULO II
Normas técnicas sobre la exposición a los campos electromagnéticos originados por las instalaciones de radiocomunicación
Artículo 4. Condiciones generales de las instalaciones y funcionamiento de las actividades.

1. Las actividades objeto de esta Ley, y las instalaciones que estén vinculadas a ellas, han de ser proyectadas, instaladas, utilizadas, mantenidas y controladas ajustándose a las determinaciones de protección de la salud y seguridad, a los objetivos de calidad medioambiental y conforme a los criterios de planeamiento urbanístico que fija la legislación vigente y, específicamente, las establecidas por esta Ley.

2. Los titulares de las actividades las han de ejercer bajo los principios siguientes:

a) Evitar cualquier instalación que no garantice la protección de la salud.

b) Garantizar la cobertura de los servicios de radiocomunicación a la población de Castilla-La Mancha.

c) Prevenir las afecciones al paisaje.

d) Compartir infraestructuras siempre que sea técnicamente viable, suponga una reducción del impacto ambiental y paisajístico y cumplan los requisitos de protección de la salud que establece esta Ley.

Artículo 5. Protección de la salud ante la exposición de los ciudadanos a campos electromagnéticos.

Las instalaciones objeto de esta Ley han de cumplir los niveles máximos de exposición, las distancias de seguridad y protección establecidas en los anexos 1, 2 y 3.

Artículo 6. Normasdeprotecciónambiental.Prohibicionesylimitacionesalasinstalaciones.

Con carácter general y, sin perjuicio de la normativa específica, no podrán establecerse instalaciones de radiocomunicación en los bienes inmuebles de interés cultural declarados Monumentos por la Ley de Patrimonio Histórico y en los espacios naturales protegidos calificados por las categorías de Microreservas y Monumentos Naturales por la Ley de Conservación de la Naturaleza.

Se limitarán las instalaciones en los conjuntos histórico-artísticos, zonas arqueológicas y jardines declarados como bienes de interés cultural, así como en el resto de categorías de espacios naturales protegidos, obligándose a incorporar las medidas de mimetización o las soluciones específicas que minimicen el impacto visual.

Se limitarán igualmente las instalaciones de radiocomunicación en centros hospitalarios y geriátricos, residencias de ancianos, centros educativos, escuelas infantiles y en todos aquellos espacios que se definan reglamentariamente como de especial riesgo.

El órgano competente de la Junta de Comunidades, o los Ayuntamientos en su caso, por razones medioambientales o paisajísticas y urbanísticas, y previo trámite de audiencia a los interesados, podrá imponer acciones de mimetización y soluciones específicas destinadas a minimizar el impacto de las infraestructuras y armonizarlas con el entorno, e incluso prohibir determinadas tipologías de instalaciones de radiocomunicación.

Artículo 7. Conservación y revisión.

Los operadores están obligados a mantener sus instalaciones en las debidas condiciones de seguridad, estabilidad y conservación, así como a incorporar las mejoras tecnológicas que vayan apareciendo y contribuyan a reducir los niveles de emisión de los sistemas radiantes y a minimizar el impacto ambiental y visual de acuerdo con los fines de esta Ley.

Los operadores tendrán que revisar las instalaciones anualmente, notificando en el plazo de dos meses a la Consejería competente la acreditación de dicha revisión.

Los titulares de las instalaciones estarán obligados a subsanar las deficiencias de conservación en un plazo máximo de quince días a partir de la notificación de la irregularidad. Cuando existan situaciones de peligro para las personas o bienes, las medidas deberán de adoptarse de forma inmediata.

En los supuestos de cese definitivo de la actividad o existencia de elementos de la instalación en desuso, el operador o, en su caso, el propietario de las instalaciones deberá realizar las actuaciones necesarias para desmantelar y retirar los equipos de radiocomunicación o sus elementos, y dejar el terreno, la construcción o edificio que sirva de soporte a dicha instalación, en el estado anterior al establecimiento de los mismos.

Artículo 8. Ordenación de los emplazamientos.

El emplazamiento de las instalaciones de radiocomunicación queda sujeto a las determinaciones fijadas en esta Ley y en su normativa de desarrollo y a las que resulten de la normativa medioambiental y urbanística.

TÍTULO III
Plan Territorial de Despliegue de Red
Artículo 9. Obligación de presentar el Plan Territorial de Despliegue de Red.

Los operadores de radiocomunicación estarán obligados a presentar un Plan Territorial de Despliegue de Red que contemple las estaciones fijas ya existentes y las previsiones de implantación y desarrollo del conjunto de toda su red.

Dicho Plan proporcionará la información necesaria para la adecuada integración de estas instalaciones en la ordenación medioambiental y territorial y asegurar el cumplimiento de las limitaciones establecidas en esta Ley.

Los operadores deberán presentar, antes de la realización de la primera de sus instalaciones fijas de radiocomunicación en la Región, el Plan Territorial de Despliegue de Red.

Artículo 10. Contenido del Plan Territorial de Despliegue de Red.

Para la ordenación de los emplazamientos, los operadores de radiocomunicación han de facilitar a la Administración Autonómica información suficiente sobre la red existente y la previsión, para al menos un año, de las nuevas instalaciones que desarrollarán su red territorial, debiendo contener:

1) Con carácter general:

Esquema general de la red, indicando los principales nodos y localización de la cabecera, enlaces y posibles alternativas.

Descripción de los servicios prestados y tecnologías utilizadas.

Programa y calendario de ejecución de las nuevas instalaciones.

2) Para cada emplazamiento:

Disposición del terreno, accesos y suministros.

Calificación urbanística del suelo, afecciones medioambientales y al patrimonio histórico-artístico.

Posibilidad de uso compartido.

Justificación de la solución técnica propuesta.

Indicación expresa en planos de la cota altimétrica.

Altura del emplazamiento y altura de las antenas del sistema radiante.

Áreas de cobertura.

Margen de frecuencias y potencia de emisión.

Ganancia con respecto a una antena isotrópica.

Número y tipo de antenas.

Número de portadoras y canales máximos por sector.

Diagrama de radiación indicando la potencia isótropa radiada equivalente (W) en todas las direcciones.

Ángulo de elevación del sistema radiante. Abertura del haz.

3) La información gráfica ha de señalar los lugares de emplazamiento, con coordenadas UTM y sobre la cartografía siguiente:

a) A escala 1:25.000 para las instalaciones que se emplacen en la demarcación no urbana.

b) A escala 1:2.000 para las instalaciones que se emplacen en la demarcación urbana.

Los operadores indicarán de forma expresa aquella parte de la información suministrada que tiene carácter de confidencial, al amparo de la legislación vigente.

Artículo 11. Comisión de Redes de Radiocomunicación.

Se crea la Comisión de Redes de Radiocomunicación adscrita a la Consejería de Ciencia y Tecnología que ejercerá las competencias atribuidas por esta Ley.

Dicha Comisión estará compuesta por:

Presidente: El Consejero de Ciencia y Tecnología.

Vocales: El Director general de Salud Pública, el Director general de Medio Ambiente Natural y el Director general de Urbanismo y Vivienda.

Secretario: El Director general de Telecomunicaciones y Tecnologías de la Información.

Artículo 12. Aprobación del Plan Territorial de Despliegue de Red.

1. La Comisión de Redes de Radiocomunicación aprobará las previsiones de nuevas instalaciones incluidas en los Planes Territoriales de Despliegue de Red en suelo rústico. Esta aprobación se resolverá en un plazo máximo de tres meses a contar desde la presentación del Plan o de sus modificaciones. En caso de falta de resolución expresa en este plazo se entenderá favorable al interesado.

A los efectos previstos en el apartado anterior se entenderá que el Plan está presentando cuando contenga toda la documentación exigida en el artículo 10.

La aprobación del Plan Territorial de Despliegue de Red por parte de la Administración de la Junta de Comunidades será condición indispensable para que los Municipios puedan otorgar las licencias pertinentes para el establecimiento de las instalaciones. La concesión de una licencia municipal sin la previa aprobación administrativa del Plan será nula de pleno derecho.

El acto de aprobación de este Plan será publicado en el «Diario Oficial de Castilla-La Mancha», sin perjuicio de su notificación al operador interesado.

2. Los emplazamientos y condiciones de las instalaciones en núcleos urbanos (suelo urbano y urbanizable) serán aprobados por los Ayuntamientos debiendo cumplir las normas técnicas y condiciones establecidas en esta Ley.

Artículo 13. Actualización y modificación del Plan Territorial de Despliegue de Red.

Los operadores deberán comunicar cualquier modificación al contenido del Plan presentado, solicitando, en su caso, a la Comisión de Redes de Radiocomunicación, su actualización y correspondiente aprobación para poder proceder a hacer efectivos dichos cambios.

Artículo 14. Uso compartido de las infraestructuras.

La Administración Regional negociará con todos los operadores para propiciar acuerdos dirigidos a que éstos compartan las infraestructuras. La formalización de estos acuerdos entre la Administración de la Junta de Comunidades y los operadores supondrá la aprobación de los Planes Territoriales de Despliegue de Red. De no conseguirse los mencionados acuerdos, la Administración Autonómica determinará, en la aprobación de los Planes, los emplazamientos que deberán compartir los distintos operadores, atendiendo a principios de protección de la salud, ambiental y paisajística y, especialmente, cuando la cercanía de las instalaciones así lo aconsejen. Para facilitar la compartición, al menos las nuevas infraestructuras que formen parte del Plan Territorial de Despliegue de Red de un operador deberán permitir el alojamiento de antenas de como mínimo cuatro operadores.

TÍTULO IV
Régimen de protección de la legalidad y sancionador
Artículo 15. Control e inspección periódica de las instalaciones.

Las condiciones de emplazamiento, incluidas las obras y funcionamiento de las instalaciones reguladas en la presente Ley, estarán sujetas al control e inspección de los Ayuntamientos. Sin perjuicio de lo anterior, se realizarán controles e inspecciones periódicas de las instalaciones por el órgano competente de la Junta de Comunidades, con el fin de comprobar su adecuación a las condiciones establecidas en la presente Ley.

Artículo 16. Infracciones y sanciones.

Las acciones y omisiones que vulneren lo dispuesto en la presente Ley sobre emplazamiento, instalación y funcionamiento de los equipos de radiocomunicación, constituyen infracciones que serán sancionadas de conformidad con lo establecido en los artículos siguientes.

Artículo 17. Clasificación de las infracciones.

Las infracciones administrativas en la materia objeto de esta Ley, se clasifican en leves, graves y muy graves.

Artículo 18. Infracciones leves.

Se consideran infracciones leves la simple inobservancia de las disposiciones contenidas en la presente Ley y en la normativa respectiva de aplicación, que no estén tipificadas como infracción grave o muy grave, y en concreto:

1. La presentación incompleta de los Planes Territoriales de Despliegue.

2. La presentación fuera de plazo de los Planes Territoriales de Despliegue cuando dicho retraso no fuera superior a un mes.

Artículo 19. Infracciones graves.

Se consideran infracciones graves las siguientes:

1. El incumplimiento de la obligación de mantener las instalaciones en perfecto estado.

2. El incumplimiento de la obligación de incorporar las mejoras tecnológicas que supongan una reducción significativa de las emisiones radioeléctricas.

3. El incumplimiento de la obligación de revisar las instalaciones cada año.

4. El incumplimiento de la obligación de subsanar las deficiencias de conservación en el plazo de quince días desde su notificación.

5. El incumplimiento de la obligación de desmantelar y retirar los equipos de radiocomunicación o sus elementos, cuando se dé el supuesto de cese definitivo de la actividad o desuso de los elementos, así como de dejar el terreno, la construcción o edificio que sirva de soporte a la instalación en el estado anterior al establecimiento de los mismos.

6. No llevar a cabo las acciones de mimetización impuestas por el órgano competente de la Junta de Comunidades.

7. El incumplimiento de las normas de protección ambiental de las instalaciones recogidas en el artículo 6 de la presente Ley.

8. El incumplimiento de los plazos de adecuación de las instalaciones existentes establecidos en las disposiciones transitorias primera y segunda.

9. La presentación fuera de plazo de los Planes Territoriales de Despliegue cuando dicho retraso fuera superior a un mes.

10. El incumplimiento reiterado de los requerimientos de información formulados por la Administración.

Artículo 20. Infracciones muy graves.

Se consideran infracciones muy graves las siguientes:

1. La construcción de instalaciones que no estén incluidas en los Planes Territoriales de Despliegue aprobados.

2. El funcionamiento de la actividad superando los niveles máximos de emisión de radiaciones no ionizantes y distancias de seguridad legalmente vigentes.

Artículo 21. Sanciones administrativas.

1. Las infracciones administrativas podrán ser sancionadas:

A. Las infracciones leves:

a) Apercibimiento.

b) Multa hasta 10.000.000 de pesetas.

La sanción de multa en su grado mínimo será hasta 3.350.000 pesetas, en su grado medio de 3.350.001 a 7.000.000 de pesetas, y en su grado máximo de 7.000.001 pesetas, hasta 10.000.000 de pesetas.

B. Las infracciones graves:

a) Multa de 10.000.001 a 20.000.000 de pesetas.

La sanción de multa en su grado mínimo será hasta 13.350.000 pesetas, en su grado medio de 13.350.001 a 17.000.000 de pesetas, y en su grado máximo de 17.000.001 pesetas, hasta 20.000.000 de pesetas.

b) Suspensión hasta tres meses, prorrogables si fuera preciso para la subsanación de la infracción que la originó.

C. Las infracciones muy graves:

a) Multa de 20.000.001 pesetas, hasta 30.000.000 de pesetas.

La sanción de multa en su grado mínimo será hasta 23.350.000 pesetas, en su grado medio de 23.350.001 a 27.000.000 de pesetas, y en su grado máximo de 27.000.001 pesetas, hasta 30.000.000 de pesetas.

b) Suspensión hasta seis meses, prorrogables si fuera preciso para la subsanación de la infracción que la originó.

2. La sanción de multa será compatible con la de suspensión.

3. Los órganos competentes para la imposición de las sanciones podrán imponer multas coercitivas de un 10 por 100 más sobre la cuantía de la sanción por cada día transcurrido sin atender a la resolución de suspensión de la actividad.

Artículo 22. Suspensión del funcionamiento de la instalación.

Por razones de seguridad, la Administración podrá acordar, tanto durante la tramitación del procedimiento como previamente a su iniciación, como medida provisional, la suspensión del funcionamiento de la instalación.

Artículo 23. Competencia para la imposición de las sanciones.

Son órganos competentes para la imposición de las sanciones:

Para las leves el Director general competente por razón de la materia.

Para las graves el Consejero competente por razón de la materia.

Para las muy graves el Consejo de Gobierno.

Artículo 24. Sujetos responsables.

Serán responsables de las infracciones tipificadas en esta Ley los operadores, explotadores o propietarios de las instalaciones de forma solidaria.

Artículo 25. Criterios para la graduación de las sanciones.

Para la graduación de las sanciones a aplicar se considerarán los siguientes criterios:

a) Existencia o no de intencionalidad.

b) El resarcimiento de los posibles perjuicios ocasionados con anterioridad al acuerdo de inicio del expediente sancionador.

c) La subsanación de las deficiencias causantes de la infracción durante la tramitación del expediente sancionador.

d) La naturaleza de los perjuicios ocasionados.

e) La reincidencia, entendiendo por tal la comisión de más de una infracción de la misma naturaleza, en el término de un año a contar desde la firmeza de la resolución de la primera.

Artículo 26. Ejecución subsidiaria.

En los supuestos en los que se dicte orden de retirada de las instalaciones reguladas en esta Ley si el operador responsable no las realizase en el plazo indicado en la misma, la Administración de la Junta de Comunidades podrá de oficio ejecutar subsidiariamente dicha orden.

Artículo 27. De la prescripción.

Los plazos de prescripción de las infracciones serán los siguientes:

a) Las infracciones muy graves prescribirán a los cuatro años.

b) Las infracciones graves prescribirán a los dos años.

c) Las infracciones leves prescribirán al año.

Para lo no contemplado en esta Ley en materia de prescripción de infracciones y sanciones se estará a lo dispuesto en la Ley 30/1992, de Régimen Jurídico de las Administraciones Públicas y del Procedimiento Administrativo Común.

Disposición transitoria primera.

Las instalaciones existentes en el momento de entrada en vigor de esta Ley se han de adecuar a sus prescripciones dentro del plazo de nueve meses desde la entrada en vigor de la misma.

Disposición transitoria segunda.

Las instalaciones existentes en el momento de entrada en vigor de esta Ley que no cumplan las normas de protección de la salud en cuanto a límites de emisión máximos de radiaciones no ionizantes y distancias de seguridad fijados en los anexos se han de adecuar a sus prescripciones dentro del plazo de tres meses desde la entrada en vigor de esta Ley.

Disposición adicional primera.

En el plazo de tres meses desde la entrada en vigor de la presente Ley los operadores establecidos en la Comunidad Autónoma deberán presentar el Plan Territorial de Despliegue de Red.

Disposición adicional segunda.

En el plazo de un año, contado a partir de la entrada en vigor de esta Ley, el órgano competente de la Administración de la Junta de Comunidades creará un Registro Especial en el que se inscribirán todas las instalaciones de emisión y recepción de los servicios de radiocomunicaciones existentes en la región.

Disposición adicional tercera.

La inscripción registral se realizará de oficio o a instancia del interesado, y deberá contener como mínimo los datos relativos al titular de la licencia y a las condiciones impuestas para la autorización de la instalación, además de los datos que reglamentariamente se determinen.

Disposición adicional cuarta.

En todo caso, cada vez que un Ayuntamiento otorgue una licencia para cualquier instalación regulada en la presente Ley, deberá remitir al Registro Especial los datos contenidos en el apartado anterior.

Disposición adicional quinta.

Los Ayuntamientos, en el ámbito de sus competencias, podrán, de acuerdo con la presente Ley, promulgar ordenanzas que la desarrollen y adapten a las especiales circunstancias de cada municipio.

En caso de no existir ordenanza municipal aplicable, la presente Ley sustituirá a la misma, y en todo caso tendrá carácter supletorio.

Disposición final primera.

Se faculta al Consejo de Gobierno para el desarrollo de esta Ley y, expresamente, para la modificación de la información que han de suministrar los operadores y que forman parte de los Planes Territoriales de Despliegue de Red.

Disposición final segunda.

Se faculta al Consejo de Gobierno para adaptar los niveles de referencia de los anexos a los avances científicos y tecnológicos que garanticen una mayor protección de la salud y seguridad de las personas.

Toledo, 3 de julio de 2001.

JOSÉ BONO MARTÍNEZ,

Presidente

(Publicada en el «Diario Oficial de Castilla-La Mancha» número 78, de 10 de julio de 2001.)

ANEXO 1
Niveles máximos permitidos de exposición a los campos electromagnéticos no ionizantes para el público en general en suelo no urbano

La siguiente tabla representa los niveles de referencia para distintas frecuencias, expresadas en intensidad de campo eléctrico (V/m), intensidad de campo magnético (A/m) y densidad de pontencia (µW/cm2, microvatio por centímetro cuadrado):

Cuadro 1

Gama de frecuencia

Intensidad de campo

eléctrico (E)

(V/m)

Intensidad de campo

magnético

(H) (A/m)

Densidad de potencia

(µW/cm2)

10-150 kHz. 58 3,3
0,15-1 MHz. 58 0,5/f
1-10 MHz. 58/f1/2 0,5/f
10-400 MHz. 19 0,05 90
400-2.000 MHz. 0,9/f1/2 0,0025/f1/2 f/4,50
2-300 GHz. 41 0,1 450

Nota: Estos valores se han obtenido del cuadro 1, dividiendo la frecuencia de trabajo (expresada en MHz), entre 4,50. La variable f expresa MHz.

En la siguiente tabla se muestran los límites en µW/cm2 para las distintas frecuencias de móviles (GSM-900, DCS-1800 y UMTS-2000):

Frecuencias

Nivel de referencia

(µW/cm2)

900 200
1.800 400
2.000 450

Las distancias habrá que considerarlas desde el sistema radiante, siempre en la dirección de máxima radiación.

Nota: Estos valores se han obtenido del cuadro 1, dividiendo la frecuencia de trabajo entre 450 y convirtiendo las unidades expresadas en W/m2 a µW/cm2.

Definiciones:

a) Se entiende por nivel de referencia el nivel máximo permitido de exposición a los campos electromagnéticos no ionizantes para el público en general.

b) Intensidad del campo eléctrico (E): Es la cantidad vectorial que corresponde a la fuerza ejercida sobre una partícula cargada con la unidad de carga eléctrica positiva independientemente de su movimiento en el espacio. Se expresa en voltios por metro (V/m).

c) Intensidad del campo magnético: Es una cantidad vectorial (H) que determina un campo magnético en cualquier punto del espacio. Se expresa en amperios por metro (A/m).

d) Densidad de potencia (S): Es la potencia radiante que incide perpendicularmente a una superficie, dividida por el área de la superficie, y que se expresa en microvatios por centímetro cuadrado (µW/cm2) en el texto de la presente Ley.

e) Pire: Es la potencia isotrópica radiada equivalente de un único sistema radiante.

f) Frecuencia: Se define como el número de ondas que pasan por un punto del espacio en la unidad de tiempo y se mide en número de ciclos por segundo o hercio (Hz). En alta frecuencia se suele expresar en MHz (un millón de hercios) o GHz (mil MHz).

En espacio libre y en la zona de campo lejano existe una correlación entre un campo magnético, campo eléctrico y densidad de potencia expresada con las siguientes fórmulas:

E = H × 377

S = E2/377 = 377 × H2

ANEXO 2
Área de protección o distancias mínimas en zonas abiertas y de exposición o uso continuado a cumplir por las antenas sectoriales del tipo de telefonía móvil

En este anexo se incluyen unas restricciones adicionales de protección a cumplir en aquellas zonas abiertas, sin protección de edificaciones, donde exista un uso y exposición continuada para las personas.

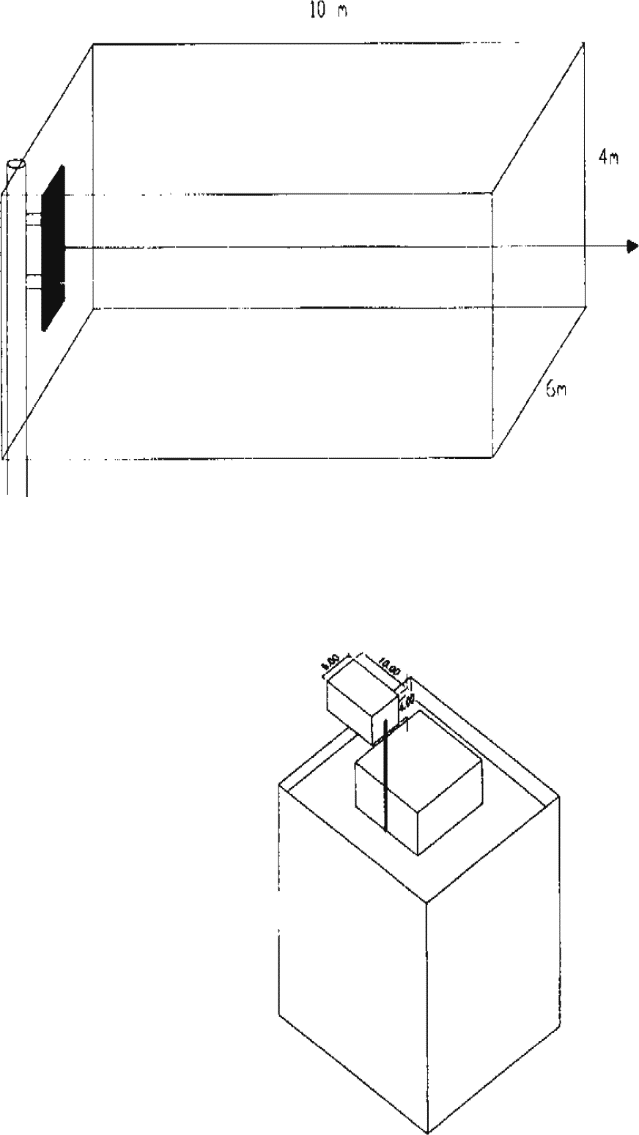
Estas restricciones adicionales implican la determinación de un área de protección en forma de paralepídedo con unas distancias mínimas a los sistemas radiantes (10 m × 6 m × 4 m), para dar mayor garantía de preservación del espacio vital de las personas.

Paralelepípedo de protección: Es un paralelepípedo trazado a partir del extremo de la antena en la dirección de máxima radiación (figura 1).

En el interior de este paralelepípedo no podrá existir ninguna zona de paso donde exista un uso y exposición continuada para las personas. En el caso de que dicho volumen de protección coincida con alguna zona de paso, será obligatorio modificar la posición del sistema radiante.

Fig. 1. Paralelepípedo de protección

Imagen: /datos/imagenes/disp/2001/227/17845_6541887_image2.png

ANEXO 3
Nivel de referencia en suelo urbano y centros sensibles

En virtud del Principio de Precaución se ha considerado pertinente establecer, hasta que existan estudios científicos concluyentes sobre las consecuencias para la salud pública, un mayor margen de protección para emplazamientos en suelo urbano y para los grupos de población más vulnerables o sensibles a los campos electromagnéticos (niños, enfermos y mayores), y, en consecuencia, determinar como centros sensibles a aquellos centros o lugares donde se concentran o residen estos grupos de personas.

El nivel máximo permitido de exposición a los campos electromagnéticos no ionizantes en suelo urbano es de 10 µW/cm2 independientemente de la frecuencia de radiación.

Se han considerado como centros sensibles los siguientes:

Escuelas infantiles y centros educativos.

Centros sanitarios, hospitales y geriátricos.

Residencias de ancianos.

En el interior de los centros adjetivados como sensibles, se establece un nivel máximo de densidad de potencia por portadora de 0,1 µW/cm2, para las frecuencias de telefonía móvil (GSM, DCS y UMTS).

ANÁLISIS

  • Rango: Ley
  • Fecha de disposición: 28/06/2001
  • Fecha de publicación: 21/09/2001
  • Fecha de entrada en vigor: 30/07/2001
  • Publicada en el DOCM núm. 78, de 10 de julio de 2001.
Referencias posteriores

Criterio de ordenación:

  • SE DECLARA:
    • en el Recurso 2194/2002, la inconstitucionalidad y nulidad de los arts. 7 en su inciso indicado y 19.2; la constitucionalidad, en los términos de los fj 5, 7 y 9, de lo indicado de los arts. 2.2, 7.2 y 3 y 14, y la desestimación de todo lo demás, por Sentencia 8/2012, de 18 de enero (Ref. BOE-A-2012-2145).
    • en el Recurso 2194/2002, el levantamiento de la suspensión de vigencia de los arts. 2.2, 7, lo indicado del 12.1, en relación con los arts. 10, 14, 19.2 y 3 y 20.1, por Auto de 1 de octubre de 2002 (Ref. BOE-A-2002-19919).
  • Recurso 2194/2002, planteado en relación con determinados preceptos, con suspensión, desde el 21 de mayo de 2002, de vigencia y aplicación de los preceptos señalados, y desde el 7 de mayo de 2002, para las partes legitimadas (Ref. BOE-A-2002-9666).
Referencias anteriores
  • DE CONFORMIDAD con los arts. 31 y 32 del Estatuto aprobado por Ley Orgánica 9/1982, de 10 de agosto (Ref. BOE-A-1982-20820).
  • CITA:
Materias
  • Ayuntamientos
  • Castilla La Mancha
  • Dominio Público Radioeléctrico
  • Medio ambiente
  • Organización de las Comunidades Autónomas
  • Radiodifusión
  • Salud
  • Telecomunicaciones

subir

Agència Estatal Butlletí Oficial de l'Estat

Avda. de Manoteras, 54 - 28050 Madrid