Contingut no disponible en valencià

Us trobeu en

Documento BOE-A-1999-8177

Código internacional para la aplicación de procedimientos de ensayo de exposición al fuego, aprobado en Londres el 5 de diciembre de 1996, por Resolución MSC 61(67).

Publicado en:
«BOE» núm. 86, de 10 de abril de 1999, páginas 13488 a 13500 (13 págs.)
Sección:
I. Disposiciones generales
Departamento:
Ministerio de Asuntos Exteriores
Referencia:
BOE-A-1999-8177
Permalink ELI:
https://www.boe.es/eli/es/ai/1996/12/05/(3)

TEXTO ORIGINAL

RESOLUCIÓN MSC.61(67)

(aprobada el 5 de diciembre de 1996)

Aprobación del Código internacional para la aplicación de procedimientos de ensayo de exposición al fuego

El Comité de Seguridad Marítima,

Recordando el artículo 28 b) del Convenio constitutivo de la Organización Marítima Internacional, artículo que trata de las funciones del Comité;

Reconociendo la necesidad de establecer la aplicación obligatoria de procedimientos de ensayo de exposición al fuego, como prescribe el capítulo II-2 del Convenio internacional para la seguridad de la vida humana en el mar (SOLAS) 1974, en su forma enmendada;

Tomando nota de la Resolución MSC.57(67), mediante la cual adoptó, entre otras cosas, enmiendas al capítulo II-2 del Convenio SOLAS a fin de hacer obligatorias las disposiciones del Código internacional para la aplicación de procedimientos de ensayo de exposición al fuego (Código FTP), en virtud de dicho Convenio, el 1 de julio de 1998, o posteriormente;

Habiendo examinado en su 67.º período de sesiones el texto del propuesto Código FTP.

1. Aprueba el Código internacional para la aplicación de procedimientos de ensayo de exposición al fuego (Código FTP), cuyo texto figura en el anexo de la presente resolución;

2. Toma nota de que, en virtud de las enmiendas al capítulo II-2 del Convenio SOLAS, las enmiendas al Código FTP se adoptarán, entrarán en vigor y surtirán efecto de conformidad con lo dispuesto en el artículo VIII de dicho Convenio en relación con los procedimientos de enmienda aplicables al anexo del Convenio, salvo el capítulo I;

3. Pide al Secretario general que remita copias auténticas de la presente resolución y del texto del Código FTP que figura en el anexo a todos los Gobiernos Contratantes del Convenio SOLAS;

4. Pide, además, al Secretario general que remita copias de la presente resolución y del anexo a todos los Miembros de la Organización que no sean Gobiernos Contratantes del Convenio SOLAS.

ANEXO
Código internacional para la aplicación de procedimientos de ensayo de exposición al fuego

ÍNDICE

1. Ámbito.

2. Aplicación.

3. Definiciones.

4. Realización de los ensayos.

4.1 Procedimientos de ensayo de exposición al fuego.

4.2 Laboratorios de ensayo.

4.3 Informes sobre los ensayos.

5. Aprobación.

5.1 Cuestiones generales.

5.2 Homologación.

5.3 Aprobación en casos particulares.

6. Productos que se pueden instalar sin ser objeto de ensayo y/o aprobación.

7. Utilización de equivalencias y tecnología moderna.

8. Período de gracia para otros procedimientos de ensayo.

9. Lista de referencias.

Anexo 1. Procedimientos de ensayo de exposición al fuego.

Preámbulo.

Parte 1. Ensayo de incombustibilidad.

Parte 2. Ensayo de producción de humo y toxicidad.

Parte 3. Ensayo para divisiones de clase «A», «B» y «F».

Apéndice 1. Ensayo de radiación térmica complementario de los procedimientos de ensayo de resistencia al fuego de ventanas en divisiones de clase «A», «B» y «F».

Apéndice 2. Divisiones continuas de clase «B».

Parte 4. Ensayo de los sistemas de control de las puertas contraincendios.

Apéndice. Procedimiento de ensayo de exposición al fuego de los sistemas de control de las puertas contraincendios.

Parte 5. Ensayo de inflamabilidad de las superficies. Apéndice. Interpretación de los resultados.

Parte 6. Ensayo de los revestimientos primarios de cubierta.

Parte 7. Ensayo de textiles y películas colocados verticalmente.

Parte 8. Ensayo de mobiliario tapizado. Parte 9. Ensayo de artículos de cama.

Anexo 2. Productos que se pueden instalar sin ser objeto de ensayo y/o aprobación.

Anexo 3. Utilización de otros procedimientos de ensayo de exposición al fuego.

Código internacional para la aplicación de procedimientos de ensayo de exposición al fuego

1. Ámbito

1.1 El presente Código está destinado a que lo utilicen la Administración y la autoridad competente del Estado de abanderamiento cuando aprueben productos que se vayan a instalar en buques que enarbolen el pabellón del Estado de abanderamiento, de conformidad con las prescripciones de seguridad contraincendios del Convenio internacional para la seguridad de la vida humana en el mar, 1974, en su forma enmendada.

1.2 Este Código será utilizado por los laboratorios de ensayo cuando sometan a ensayo y evalúen productos con arreglo a lo dispuesto en el mismo.

2. Aplicación

2.1 El presente Código es aplicable a productos que deban ser sometidos a ensayo, evaluados y aprobados de conformidad con el Código de procedimiento de ensayo de exposición al fuego a que se hace referencia en el Convenio.

2.2 Cuando en el Convenio se haga referencia al Código con la expresión «... de conformidad con el Código de procedimientos de ensayo de exposición al fuego», el producto pertinente se someterá a ensayo de conformidad con el procedimiento de ensayo de exposición al fuego aplicable o con los procedimientos indicados en el párrafo 4.1.

2.3 Cuando en el Convenio sólo se haga referencia al comportamiento de un producto de un incendio mediante expresiones como «... y sus superficies expuestas tendrán características de débil propagación de la llama», el producto pertinente se someterá a ensayo de conformidad con el procedimiento de ensayo de exposición al fuego aplicable o con los procedimientos indicados en el párrafo 4.1.

3. Definiciones

3.1 «Código de procedimientos de ensayo de exposición al fuego»: Código internacional sobre la aplicación de procedimientos de ensayo de exposición al fuego, según se define en el capítulo II-2 del Convenio, en su forma enmendada.

3.2 «Fecha de expiración del ensayo de exposición al fuego»: Última fecha en que se puede utilizar el procedimiento de ensayo dado para someter a ensayo y posteriormente aprobar cualquier producto con arreglo al Convenio.

3.3 «Fecha de expiración de la aprobación»: Última fecha en que la posterior aprobación es válida como prueba de haberse cumplido las prescripciones sobre seguridad contraincendios del Convenio.

3.4 «Administración»: Gobierno del Estado cuyo pabellón tiene derecho a enarbolar el buque.

3.5 «Autoridad competente»: Organización autorizada por la Administración para desempeñar las funciones requeridas por el presente Código.

3.6 «Laboratorio reconocido por la Administración»: Laboratorio de ensayo aceptable para la Administración pertinente. Se podrá reconocer a otros laboratorios de ensayo en casos particulares para que efectúen aprobaciones específicas, según decida la Administración pertinente.

3.7 «Convenio»: Convenio internacional para la seguridad de la vida humana en el mar, 1974, en su forma enmendada.

3.8 «Ensayo normalizado de exposición al fuego»: Ensayo en que las muestras se exponen en un horno de ensayo a temperaturas que corresponden aproximadamente a la curva normalizada de tiempo-temperatura. 3.9 «Curva normalizada de tiempo-temperatura»: Curva definida por la fórmula:

T = 345 log10 (8t+1) + 20

donde:

T = temperatura media (oC) del horno.

t = tiempo (minutos).

4. Realización de los ensayos

4.1 Procedimientos de ensayo de exposición al fuego.

4.1.1 El anexo 1 del presente Código incluye los procedimientos de ensayo requeridos que se utilizarán al someter a ensayo los productos como base para la aprobación (incluida la renovación de la aprobación), salvo lo dispuesto en la sección 8.

4.1.2 En los procedimientos de ensayo se exponen los métodos de ensayo y los criterios de aceptación y clasificación.

4.2 Laboratorios de ensayo.

4.2.1 Los ensayos se efectuarán en laboratorios de ensayo reconocidos por las administraciones interesadas.

4.2.2 Al reconocer un laboratorio, la Administración tendrá en cuenta los siguientes criterios:

1. Que el laboratorio realice, como parte regular de sus actividades, inspecciones y ensayos que sean iguales o análogos a los ensayos descritos en la parte aplicable,

2. Que el laboratorio tenga acceso a los aparatos, las instalaciones, el personal y los instrumentos calibrados necesarios para efectuar dichos ensayos e inspecciones, y

3. Que el laboratorio no pertenezca o esté dirigido por un fabricante, vendedor o suministrador del producto que se está sometiendo a ensayo.

4.2.3 El laboratorio de ensayo utilizará un sistema de control de calidad supervisado por la autoridad competente.

4.3 Informes sobre los ensayos.

4.3.1 Los procedimientos de ensayo indican el contenido requerido de los informes sobre los ensayos.

4.3.2 En general, los informes sobre los ensayos son propiedad del patrocinador del ensayo.

5. Aprobación

5.1 Cuestiones generales.

5.1.1 La Administración aprobará los productos de conformidad con sus procedimientos de aprobación establecidos, utilizando el procedimiento de homologación (véase el párrafo 5.2) o de aprobación en casos particulares (véase el párrafo 5.3).

5.1.2 La Administración podrá autorizar a las autoridades competentes a que expidan aprobaciones en su nombre.

5.1.3 El solicitante que requiera una aprobación tendrá el derecho legal a utilizar los informes sobre los ensayos derivados de su solicitud (véase el párrafo 4.3.2).

5.1.4 La Administración podrá requerir que los productos aprobados estén provistos de marcas de aprobación especiales.

5.1.5 La aprobación será válida cuando el producto se instale a bordo de un buque. Si se aprueba un producto al ser fabricado, pero la aprobación expira antes de que se instale en el buque, dicho producto se podrá instalar como material aprobado, siempre que no hayan cambiado los criterios desde la fecha de expiración del certificado de aprobación.

5.1.6 La solicitud de aprobación se presentará ante la Administración o la autoridad competente. La solicitud contendrá como mínimo lo siguiente:

1. Nombre y dirección del solicitante y del fabricante;

2. Nombre o nombre comercial del producto;

3. Cualidades específicas respecto de las cuales se solicita la aprobación;

4. Dibujos o descripciones del montaje y los materiales del producto, y cuando proceda, instrucciones sobre su instalación y utilización, y

5. Un informe sobre el ensayo o los ensayos de exposición al fuego.

5.1.7 Toda alteración importante de un producto hará cesar la validez de la aprobación pertinente. Para obtener una nueva aprobación, el producto se someterá nuevamente a ensayo.

5.2 Homologación.

5.2.1 Los certificados de homologación se expedirán y renovarán en base a los informes sobre los ensayos aplicables de exposición al fuego (véase la sección 4).

5.2.2 La Administración exigirá que los fabricantes dispongan de un sistema de control de calidad supervisado por una autoridad competente, a fin de garantizar el continuo cumplimiento de las condiciones de homologación. En su defecto, la Administración podrá emplear procedimientos de verificación del producto acabado cuando una autoridad competente verifique la conformidad con el certificado de homologación antes de que se instale el producto en el buque.

5.2.3 La validez de los certificados de homologación no será superior a cinco años a partir de la fecha de expedición.

5.2.4 Los certificados de homologación contendrán como mínimo lo siguiente:

1. Identificación (nombre o nombre comercial y descripción) del producto;

2. Clasificación y cualquier restricción en la utilización del producto;

3. Nombre y dirección del fabricante y del solicitante;

4. Método(s) utilizado(s) en el(los) ensayo(s);

5. Identificación del informe o los informes sobre los ensayos y observaciones aplicables (incluida la fecha de expedición, el número de archivo posible y el nombre y la dirección del laboratorio de ensayo);

6. Fecha de expedición y posible número del certificado de homologación;

7. Fecha de expiración del certificado, y

8. Nombre del organismo emisor (autoridad competente) y, si procede, la autorización.

5.2.5 En general, los productos homologados se podrán instalar para el fin a que se les destine a bordo de los buques que enarbolan el pabellón del Estado de la Administración que otorga la aprobación.

5.3 Aprobación en casos particulares.

5.3.1 La aprobación en casos particulares es la aprobación concedida cuando se aprueba un producto para que se instale a bordo de un buque específico sin expedir un certificado de homologación.

5.3.2 La Administración podrá aprobar productos, empleando los procedimientos de ensayo aplicables, para que se utilicen en un buque específico sin expedir un certificado de homologación. La aprobación en casos particulares será válida solamente para el buque especificado.

6. Productos que se pueden instalar sin ser objeto de ensayo y/o aprobación

El anexo 2 del presente Código especifica los grupos de productos que (de haberlos) se considera que cumplen las reglas específicas de seguridad contra incendios estipuladas en el Convenio y que se pueden instalar sin ser objeto de ensayo y/o aprobación.

7. Utilización de equivalencias y tecnología moderna

7.1 A fin de permitir la utilización de tecnología moderna y el desarrollo de nuevos productos, la Administración podrá aprobar la instalación de productos a bordo de los buques en base a ensayos y verificaciones no mencionados específicamente en el presente Código, pero que la Administración considere equivalentes a los especificados en las prescripciones pertinentes de seguridad contra incendios del Convenio.

7.2 La Administración informará a la Organización sobre las aprobaciones a que se hace referencia en el párrafo 7.1, de conformidad con la regla I/5 del Convenio, y seguirá los procedimientos de documentación que se indican a continuación:

1. En el caso de productos nuevos y no tradicionales, un análisis por escrito que indique la razón por la que no pueden utilizarse el método o los métodos de ensayo existentes para el ensayo del producto específico;

2. Un análisis por escrito que precise cómo el nuevo procedimiento de prueba propuesto verificará el comportamiento requerido por el Convenio, y

3. Un análisis por escrito que compare el nuevo procedimiento de ensayo propuesto con el requerido por el Convenio.

8. Período de gracia para otros procedimientos de ensayo

8.1 Se considera que los últimos procedimientos de ensayo aprobados por la Organización son los más adecuados para demostrar que los productos cumplen las prescripciones pertinentes de seguridad contra incendios del Convenio.

8.2 No obstante lo indicado en otras partes del presente Código, cuando se aprueben productos para que se ajusten a las prescripciones de seguridad contra incendios del Convenio, la Administración podrá utilizar unos procedimientos de ensayo y criterios de aceptación establecidos que sean distintos de los incluidos en el anexo 1 del presente Código, a fin de permitir un período de gracia apropiado para que los laboratorios de ensayo obtengan equipo de ensayo, el sector naviero vuelva a someter a ensayo sus productos y las administraciones provean los nuevos certificados necesarios. Las fechas de expiración del ensayo y de la aprobación de estos otros procedimientos de ensayo y criterios de aceptación figuran en el anexo 3 del presente Código.

9. Lista de referencias

En las partes 1 a 9 del anexo 1 del Código se hace referencia a las siguientes resoluciones de la Asamblea de la OMI y normas de la ISO:

1. Resolución A.471(XII)-«Recomendación sobre el método de ensayo para determinar la resistencia a la llama de materias textiles de diversos tipos colocadas verticalmente»;

2. Resolución A.563(14)-«Enmiendas a la Recomendación sobre el método de ensayo para determinar la resistencia a la llama de materias textiles de diversos tipos colocadas verticalmente» [resolución A.471(XII)];

3. Resolución A.652(16)-«Recomendación sobre procedimientos de ensayo de exposición al fuego para mobiliario tapizado»;

4. Resolución A.653(16)-«Recomendación sobre mejores procedimientos de ensayo de exposición al fuego para determinar la inflamabilidad de la superficie de los materiales de acabado de los mamparos, techos y cubiertas»;

5. Resolución A.687(17)-«Procedimientos de ensayo de exposición al fuego para determinar la inflamabilidad de los revestimientos primarios de cubierta»;

6. Resolución A.688(17)-«Procedimientos de ensayo de exposición al fuego para determinar la inflamabilidad de los artículos de cama»;

7. Resolución A.753(18)-«Directrices para la instalación de tuberías de plástico en los buques»;

8. Resolución A.754(18)-«Recomendación sobre procedimientos de ensayo de exposición al fuego para divisiones de clases «A», «B» y «F»»;

9. ISO 1182:1990-«Fire test-Building materials-Non-combustibility test»;

10. ISO 1716:1973-«Building materials-Determination of calorific potential», y

11. ISO 5659:1994-«Plastics-Smoke generation, Part 2-Determination of optical density by a single chamber test».

ANEXO 1
Procedimientos de ensayo de exposición al fuego

Preámbulo

1. El presente anexo contiene los procedimientos de ensayo de exposición al fuego que se utilizarán para verificar que los productos cumplen las prescripciones aplicables. Por lo que respecta a otros procedimientos de ensayo, se aplicarán las disposiciones del párrafo 8.2 y el anexo 3 del Código.

2. Se hará referencia a los procedimientos de ensayo de este anexo (por ejemplo, en el informe sobre el ensayo y el certificado de homologación), indicando el número o los números de las partes pertinentes, según se muestra a continuación:

Ejemplo: Cuando un revestimiento primario de cubierta haya sido sometido a ensayo de conformidad con las partes 2 y 6 del anexo 1, se hará referencia a las «partes 2 y 6 del Código FTP de la OMI».

3. Se requiere que algunos productos o sus componentes sean sometidos a más de un procedimiento de ensayo. Con este fin, en algunas partes del presente anexo se hace referencia a otras partes. Tales referencias se incluyen aquí sólo como información, y la orientación aplicable se buscará en las prescripciones pertinentes del Convenio.

4. En relación con los productos que se pueden instalar sin ser objeto de ensayo y/o aprobación, se hace referencia al anexo 2 del Código.

PARTE 1. ENSAYO DE INCOMBUSTIBILIDAD

1. Aplicación

1.1 Cuando se requiera que un material sea incombustible, esta propiedad se verificará de conformidad con lo dispuesto en la presente parte.

1.2 Si un material satisface los requisitos del ensayo especificado en la sección 2 se considerará como «incombustible», incluso si contiene una mezcla de sustancias orgánicas e inorgánicas.

2. Procedimiento de ensayo de exposición al fuego

2.1 La incombustibilidad se verificará siguiendo el procedimiento de ensayo de la norma ISO 1182 de 1990, salvo que en lugar del anexo A de esta norma, «Criterios para la evaluación», se aplicarán todos los criterios siguientes:

1. El aumento medio de la temperatura del termopar del horno, calculado según el párrafo 8.2.2 de la norma ISO 1182, no es superior a 30º C;

2. El aumento medio de la temperatura del termopar de la superficie, calculado según el párrafo 8.1.2 de la norma ISO 1182, no es superior a 30º C;

3. La duración media de la producción continua de llamas, calculada según el párrafo 8.2.2 de la norma ISO 1182, no es superior a 10 segundos, y

4. La pérdida media de masa, calculada según el párrafo 8.3 de la norma ISO 1182, no es superior al 50 por 100.

2.2 El informe sobre el ensayo incluirá la información siguiente:

1. Nombre del organismo que efectúa el ensayo;

2. Nombre del fabricante del material;

3. Fechas del suministro de los materiales y de la realización de los ensayos;

4. Nombre o identificación del material;

5. Descripción del material;

6. Densidad del material;

7. Descripción de las muestras;

8. Método de ensayo;

9. Resultados del ensayo, incluidas todas las observaciones;

10. Designación del material de conformidad con los criterios de ensayo especificados en el párrafo 2.1 anterior.

PARTE 2. ENSAYO DE PRODUCCIÓN DE HUMO Y TOXICIDAD

1. Aplicación

Cuando se requiera que un material no produzca cantidades excesivas de humo y productos tóxicos o que no presente riesgos tóxicos a temperaturas elevadas, el material cumplirá lo dispuesto en la presente parte.

2. Procedimiento de ensayo de exposición al fuego

2.1 Cuestiones generales.

Los ensayos sobre la producción de humo se realizarán con arreglo a lo dispuesto en la parte 2 de la norma ISO 5659 de 1994 y los procedimientos adicionales de ensayo descritos en esta parte del Código. Para llevar a cabo los ensayos de conformidad con dicha norma se modificarán las instalaciones y los procedimientos indicados en la norma ISO, de ser necesario.

2.2 Muestra de ensayo.

La muestra de ensayo se preparará conforme a lo especificado en las resoluciones A.653(16), A.687(17) y A.753(18). En el caso de cables, sólo habrá que someter a ensayo muestras de aquellos cuyo material aislante tenga el grosor máximo.

2.3 Condiciones del ensayo.

Durante el ensayo se mantendrá constante la irradiancia de la muestra. Se someterán a ensayo tres muestras en cada una de las condiciones siguientes:

1. Irradiancia de 25 kW/m2, con llama piloto;

2. Irradiancia de 25 kW/m2, sin llama piloto, e

3. Irradiancia de 50 kW/m2, sin llama piloto.

2.4 Duración del ensayo.

La duración del ensayo será de diez minutos por lo menos. Si al cabo de diez minutos de exposición no se ha alcanzado el valor mínimo de transmitancia de la luz, se continuará el ensayo durante otros diez minutos.

2.5 Resultados del ensayo.

2.5.1 La densidad óptica específica del humo (Ds), según se define a continuación, se registrará cada cinco segundos como mínimo durante el período de ensayo:

Ds = (V/A*L)*log10(Io/I)

donde:

V = Volumen total de la cámara (m3).

A = Superficie expuesta de la muestra (m2).

L = Longitud óptima (m) de la medición del humo.

Io = Intensidad lumínica antes del ensayo.

I = Intensidad lumínica durante el ensayo (después de la absorción por el humo.

2.5.2 Al efectuar la medición de la toxicidad, la toma de muestras de humo se realizará al someter a ensayo la segunda o tercera muestras en cada una de las condiciones de ensayo, desde el centro geométrico de la cámara y antes de que transcurran tres minutos a partir del momento en que se alcance la densidad óptica específica máxima del humo. La concentración de cada uno de los gases tóxicos se determinará en partes por millón del volumen de la cámara.

2.6 Criterios de clasificación.

2.6.1 Humo:

Se calculará la media (Dm) de la Ds máxima de los tres ensayos en cada una de las condiciones de ensayo:

1. En el caso de materiales utilizados para la superficie de mamparos, revestimientos o cielos rasos, la Dm no será superior a 200 en ninguna de las condiciones de ensayo;

2. En el caso de materiales utilizados como revestimientos primarios de cubierta, la Dm no será superior a 400 en ninguna de las condiciones de ensayo;

3. En el caso de materiales utilizados como revestimientos de suelos, la Dm no será superior a 500 en ninguna de las condiciones de ensayo, y

4. En el caso de tuberías de plástico y cables eléctricos, la Dm no será superior a 400 en ninguna de las condiciones de ensayo.

2.6.2 Toxicidad:

La concentración de gas medida en cada una de las condiciones de ensayo no sobrepasará los límites siguientes:

CO

1450 ppm

HBr

600 ppm

HCl

 600 ppm

HCN

140 ppm

HF

 600 ppm

SO2

120 ppm

NOx

 350 ppm

 

 

2.7 Informe sobre el ensayo.

El informe sobre el ensayo incluirá la información siguiente:

1. Tipo de material, a saber, acabado de superficie, revestimiento de suelo, revestimiento primario de cubierta, tuberías, etc.

2. Nombre comercial del material;

3. Descripción del material;

4. Construcción de la muestra;

5. Nombre y dirección del fabricante del material;

6. Dm en cada una de las condiciones de calentamiento e ignición;

7. Concentraciones de gases tóxicos en ppm, si es aplicable;

8. Conclusiones con arreglo a lo indicado en el párrafo 2.6;

9. Nombre y dirección del laboratorio de ensayo, y

10. Fecha del ensayo.

3. Prescripciones adicionales

3.1 La parte 5 del presente anexo es también aplicable a pinturas, revestimientos de suelos, barnices y otros acabados utilizados en las superficies interiores expuestas.

3.2 La parte 6 del presente anexo es también aplicable a revestimientos primarios de cubierta.

PARTE 3. ENSAYO PARA DIVISIONES DE CLASE «A», «B» Y «F»

1. Aplicación

Cuando se requiera que los productos (tales como cubiertas, mamparos, puertas, cielos rasos, revestimientos, ventanas, válvulas de mariposa contraincendios, aberturas para permitir el paso de tuberías y conductos y aberturas para permitir el paso de cables) formen parte de divisiones de clase «A», «B» o «F», los mismos cumplirán lo dispuesto en la presente parte.

2. Procedimiento de ensayo de exposición al fuego

2.1 Los productos se someterán a ensayo y se evaluarán de conformidad con el procedimiento de ensayo de exposición al fuego especificado en la Resolución A.754(18). Ésta también contiene en sus apéndices los procedimientos de ensayo para ventanas, válvulas de mariposa contraincendios y aberturas para tuberías y conductos.

2.2 Tamaños de las muestras.

2.2.1 A los efectos del presente Código, la primera fase de los párrafos 2.1.1, 2.4.1 y 2.7.1 del anexo de la resolución A.754(18) se sustituye por la siguiente:

«Las dimensiones mínimas totales de la muestra de ensayo, incluidos los detalles del perímetro de los bordes superior, inferior y vertical, son de 2.440 mm de anchura y 2.500 mm de altura, salvo que en los ensayos efectuados hasta el 31 de diciembre de 1998 se puedan utilizar para la muestra las dimensiones mínimas totales de 2.440 mm de altura y 4,65 m2 de superficie expuesta. La fecha de expiración de la aprobación es el 31 de diciembre de 2003 para aprobaciones basadas en ensayos con muestras más pequeñas.»

2.2.2 A los efectos del presente Código, la primera fase de los párrafos 2.2.1, 2.5.1 y 2.8.1 del anexo de la resolución A.754(18) se sustituye por la siguiente:

«Las dimensiones mínimas totales de la muestra de ensayo, incluidos los detalles del perímetro en todos los bordes son de 2.440 mm de anchura y 3.040 mm de longitud, salvo que en los ensayos efectuados hasta el 31 de diciembre de 1998 se puedan utilizar para la muestra las dimensiones mínimas totales de 2.440 mm de altura y 4,65 m2 de superficie expuesta. La fecha de expiración de la aprobación es el 31 de diciembre de 2003 para aprobaciones basadas en ensayos con muestras más pequeñas.»

2.2.3 Los tamaños de la muestra se indicarán en los informes sobre los ensayos.

2.3 Cuando se requiera que la radiación térmica a través de las ventanas esté limitada, el ensamblaje de la ventana se someterá a ensayo y se evaluará de conformidad con el apéndice 1 de la presente parte.

2.4 Cuando se requiera que los cielos rasos o revestimientos sean continuos de clase «B», deberán ser sometidos a ensayo y evaluados de conformidad con el apéndice 2 de la presente parte.

3. Prescripciones adicionales

3.1 La integridad de las construcciones de clase «B» se conseguirá con materiales incombustibles. No se requiere que los adhesivos utilizados en la construcción de la muestra sean incombustibles, aunque a efectos del presente Código, tendrán unas características de débil propagación de la llama.

3.2 Los materiales colocados en las juntas de paneles de clase «B» para evitar vibraciones o la transmisión de ruido tendrán unas características de débil propagación de la llama y se someterán a un ensayo de exposición al fuego junto con las divisiones de clase «B» con que se vayan a utilizar. Sin embargo, tales materiales serán incombustibles si han de soportar estructuras incombustibles de clase «B» o conseguir la integridad prescrita.

3.3 Las puertas y tapas que se instalen sobre la cubierta de cierre y que deban cumplir las prescripciones de protección contra incendios y estanquidad, cumplirán las prescripciones de protección contra incendios que se estipulan en el Convenio para las divisiones en que se instalen. No es necesario que las puertas estancas instaladas por debajo de la cubierta de cierre estén aisladas.

4. Otras referencias

4.1 Se verificará la incombustibilidad de los materiales utilizados en divisiones de clase «A» y «B» de conformidad con la parte 1.

4.2 Cuando se permita utilizar barnices combustibles en divisiones de clase «A» y «B», las características de débil propagación de la llama de tales barnices se verificarán, si se requiere, de conformidad con la parte 5.

APÉNDICE 1

Ensayo de radiación térmica complementario de los procedimientos de ensayo de resistencia al fuego de ventanas en divisiones de clase «A», «B» y «F»

1. Ámbito

1.1 El presente apéndice especifica un procedimiento para medir el flujo calorífico a través de las ventanas, con miras a tipificar su capacidad de limitar la radiación térmica a fin de prevenir la propagación de la llama y permitir que las vías de evacuación puedan estar cerca de las ventanas.

1.2 Este procedimiento es facultativo, y algunas administraciones pueden pedir que se aplique a las ventanas de determinadas zonas de un buque.

2. Procedimiento de ensayo

2.1 Las ventanas se deberán someter a ensayo de conformidad con la resolución A.754(18), utilizando los instrumentos adicionales que se describen a continuación.

2.2 El término «ventana» comprende las ventanas propiamente dichas, los portillos y cualquier otra abertura acristalada de una división pirorresistente que permita el paso de la luz o la visión. La expresión «división pirorresistente» incluye mamparos y puertas.

3. Instrumentos adicionales

3.1 El instrumento adicional consiste en un flujómetro entálpico de abertura restringida, calibrado de manera que la abertura restringida indique el flujo térmico incidente. El flujómetro deberá estar enfriado con agua y ser capaz de medir el flujo calorífico de O a 60 kW/m2. El flujómetro se deberá calibrar una vez al año como mínimo utilizando un patrón.

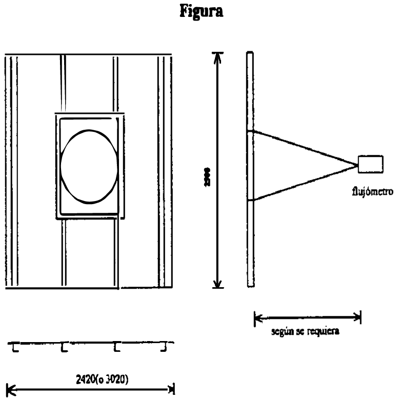
3.2 El flujómetro deberá estar situado perpendicularmente al centro de la ventana sometida a ensayo de tal forma que el centro del campo de visión del flujómetro coincida con el de la ventana (véase la figura). La dis­tancia del flujómetro a la ventana deberá ser superior a 0,5, de modo que el campo de visión del flujómetro abarque ligeramente parte del marco de la ventana. Sin embargo, la distancia del flujómetro a la ventana no debe­rá ser superior a 2,5 metros. La dimensión abarcada por el flujómetro del borde y marco de la ventana que quedan fuera de ésta no debe exceder del 10 por 100 de la anchura total del campo de visión del flujómetro en la superficie de la muestra. El cálculo deberá estar basado en el ángulo de visión restringida del flujómetro y en la distancia de éste a la superficie de la muestra.

Imagen: /datos/imagenes/disp/1999/86/08177_7875951_image1.png

3.3 Para ventanas cuya dimensión mayor sea menos de 1,5 7 veces la dimensión menor, sólo se nece­sita un flujómetro.

3.4 Para ventanas rectangulares cuya dimensión mayor sea más de 1,5 7 veces la dimensión menor, se proveerán flujómetros adicionales. La distancia de los flujómetros a la ventana se deberá ajustar de manera que los campos de visión de los flujómetros abarquen por lo menos el 50 por 100 de la ventana. Sin embargo, los flujómetros no se deberán colocar a una distancia de la ventana inferior a 0,5 m ni superior a 2,5 m.

Imagen: /datos/imagenes/disp/1999/86/08177_7875951_image2.png

4. Criterios de clasificación

4.1 Se deberá medir el flujo calorífico máximo (Ew) para los quince primeros minutos del ensayo, los treinta primeros minutos y para la totalidad del ensayo (es decir, sesenta minutos para mamparos límite de clase «A» y treinta minutos para los de clase «B»).

4.2 El flujo calorífico máximo (Ew) medido de conformidad con el párrafo 4.1 se deberá comparar con el valor de referencia (Ec) del cuadro.

4.3 Si (Ew) es inferior a (Ec), la ventana reúne los requisitos necesarios para que se instale en una división de la correspondiente clasificación pirorresistente.

Cuadro 1. Criterios relativos al flujo térmico

Clasificación de la división

pirorresistente

Intervalo desde

el inicio del ensayo

Flujo calorífico

Ec (kW/m2)

A-0 60 minutos 56,5
A-15

15 minutos

60 minutos

2,34

8,0

A-30

30 minutos

60 minutos

2,34

6,4

A-60

60 minutos

2,34

B-0

30 minutos

36,9

B-15

15 minutos

30 minutos

2,34

4,3

APÉNDICE 2

Divisiones continuas de clase «B»

1. Ámbito

1.1 El presente apéndice especifica un procedimien­to para someter a ensayo los revestimientos y cielos rasos a fin de verificar que son «revestimientos continuos de clase "B"» y «cielos rasos continuos de clase "B"» y evaluar que todas las construcciones sean «construc­ciones continuas de clase "B"».

1.2 Este procedimiento es facultativo, y algunas administraciones pueden exigir que se aplique a las divi­siones continuas de clase «B».

2. Procedimiento de ensayo y evaluación

2.1 Los revestimientos, los cielos rasos y las cons­trucciones se deberán evaluar de conformidad con lo dispuesto en la resolución A.754( 18), utilizando los medios que se describen a continuación.

2.2 Los cielos rasos se deberán someter a ensayo de conformidad con el párrafo 2.8 del anexo de la reso­lución A.754(18), salvo que deberán estar montados en el horno horizontal de modo que se hallen unidos a mam­paros de clase «B» de 1 50 mm de altura por lo menos, y que el método de unión del cielo raso a estos mamparos parciales sea el mismo que se vaya a utilizar en la prác­tica. Estos cielos rasos y los métodos de unión se deberán evaluar de conformidad con lo dispuesto para cielos rasos en la resolución A. 754(18) y clasificar en con­secuencia como «cielos rasos continuos de clase "B" (B-0 ó B-15, según proceda)».

2.3 Se podrá considerar que un revestimiento que haya sido evaluado de conformidad con la resolu­ción A. 754( 18) como revestimiento de clase «B» (B-0 ó B-15, según proceda en función del ensayo de que ha sido objeto), constituye un «revestimiento continuo de clase «B» (B-0 ó B-15, según proceda) junto con un «cielo raso continuo de clase «B» (B-0 ó B-15, según proceda) y el método de unión utilizado en el ensayo (véase el párrafo 2.2 anterior), sin necesidad de un ensayo adicional del revestimiento.

2.4 Una construcción cerrada instalada en una cubierta de clase «A» y formada por «revestimientos continuos de clase «B» (B-0 ó B-15, según proceda)» y «cielos rasos continuos de clase «B» (B-0 ó B-15, según proceda), deberá considerarse que forma una «construcción continua de clase «B»».

PARTE 4. ENSAYO DE LOS SISTEMAS DE CONTROL DE LAS PUERTAS CONTRAINCENDIOS

1. Aplicación

Cuando se requiera que un sistema de control de las puertas contraincendios sea capaz de operar en caso de incendio, el sistema cumplirá lo dispuesto en la presente parte.

2. Procedimiento de ensayo de exposición al fuego

Los sistemas de control de puertas contraincendios se someterán a ensayo y evaluarán de conformidad con el procedimiento de ensayo que figura en el apéndice de la presente parte.

3. Prescripciones adicionales

La parte 1 del presente anexo es también aplicable a los materiales aislantes utilizados en conexión con el sistema de control de puertas contraincendios.

APÉNDICE

Procedimiento de ensayo de exposición al fuego de los sistemas de control de las puertas contraincendios

1. Cuestiones generales

1.1 Los sistemas de control de las puertas contraincendios que se vayan a utilizar en puertas contraincendios capaces de operar en caso de incendio se someterán a ensayo de conformidad con el procedimiento de ensayo de exposición al fuego descrito en este apéndice, independiente de su frente de energía (neumática, hidráulica o eléctrica).

1.2 El ensayo de exposición al fuego se realizará con un prototipo y con todo el sistema de control en un horno de las dimensiones prescritas en la resolución A.754(18).

1.3 La construcción que se someta a ensayo será, siempre que sea posible, representativa de la que se vaya a utilizar a bordo de los buques, incluidos los materiales y el método de montaje.

1.4 Se someterán a ensayo las funciones del sistema de control, incluidas las del mecanismo de cierre, es decir, las funciones normales, y si se requiere, las de emergencia, incluidas las de conmutación, si éstas constituyen un elemento esencial del proyecto del fabricante. La clase de instalación y las funciones requeridas estarán claramente expuestas en una descripción funcional detallada.

2. Naturaleza del prototipo del sistema de control

2.1 La instalación del prototipo del sistema de control cumplirá plenamente lo dispuesto en el manual de instalación del fabricante.

2.2 El prototipo del sistema de control incluirá la disposición típica de una puerta conectada al mecanismo de cierre. Para fines del ensayo se utilizará el modelo de una puerta. En caso de puertas deslizantes, el modelo de la puerta se desplazará por sus carriles originales con los cojinetes de apoyo y de guía originales. El modelo de la puerta tendrá el peso de la puerta más grande que se vaya a accionar con este sistema de control.

2.3 En caso de sistemas neumáticos o hidráulicos, el accionador (cilindro) tendrá la longitud máxima que permita el horno.

3. Materiales del prototipo del sistema de control

3.1 Especificaciones.

Antes del ensayo, el solicitante remitirá al laboratorio los dibujos y la lista de materiales del dispositivo de ensayo.

3.2 Mediciones de control.

3.2.1 El laboratorio de ensayo tomará muestras de referencia de todos los materiales cuyas características sean importantes para el funcionamiento del prototipo del sistema de control (excluido el acero y materiales equivalentes).

3.2.2 Si es necesario, se efectuarán ensayos de incombustibilidad del material aislante de conformidad con lo dispuesto en la parte 1. No se requiere que los adhesivos utilizados en la construcción de la muestra sean incombustibles; si bien tendrán características de débil propagación de la llama.

3.2.3 Se determinará la densidad de cada material aislante. La densidad de la lana mineral o cualquier material comprimible estará relacionada con el espesor nominal.

3.2.4 Se medirá el espesor de cada material aislante o de una combinación de estos materiales utilizando un indicador o calibrador adecuado.

4. Acondicionamiento del prototipo del sistema de control

4.1 No es necesario el acondicionamiento del prototipo del sistema de control (salvo el aislamiento).

4.2 Si se utiliza material aislante en la construcción, el prototipo del sistema de control no se someterá a ensayo hasta que el aislamiento se haya secado al aire. Esta condición se designa de equilibrio (peso constante), en una atmósfera ambiente con un 50 por 100 de humedad relativa a 23º C.

Se permitirá un acondicionamiento acelerado siempre que el método empleado no modifique las propiedades de los materiales componentes. El acondicionamiento a alta temperatura se efectuará a unas temperaturas inferiores a las críticas de los materiales.

5. Montaje del prototipo del sistema de control

5.1 El prototipo del sistema de control de la puerta contraincendios y el aislamiento, si se utiliza para proteger el sistema o partes de él, se montarán en una plancha de mamparo como se muestra en la figura 1.

5.2 El núcleo estructural se montará en el horno de conformidad con lo dispuesto para divisiones de clase «A» en el párrafo 5 de la resolución A.754(18).

5.3 Se dispondrá el modelo de la puerta en el horno. El núcleo estructural al que se fijen el sistema y el modelo de la puerta no tendrá aberturas para puertas. Sin embargo, se permitirán pequeñas aberturas para el mecanismo de accionamiento del sistema de control.

6. Examen del prototipo del sistema de control

6.1 Conformidad.

El laboratorio verificará la conformidad del prototipo del sistema de control con los dibujos y el método de montaje que facilite el solicitante del ensayo (véase la sección 2), y cualquier discrepancia se resolverá antes de iniciar el mismo.

6.2 Funcionamiento del prototipo del sistema de control.

Inmediatamente antes del ensayo, el laboratorio comprobará el funcionamiento del sistema abriendo el modelo de la puerta una distancia de 300 milímetros como mínimo. A continuación se cerrará el modelo de la puerta.

7. Instrumentos

El horno y sus instrumentos se ajustarán a lo dispuesto en la sección 7 del anexo de la resolución A.754(18).

8. Método de ensayo

8.1 Comienzo del ensayo.

Cinco minutos como máximo antes de que comience el ensayo se comprobarán las temperaturas iniciales registradas por todos los termopares, a fin de garantizar su consistencia, y se anotarán los valores de referencia. También se obtendrán los valores de referencia de la deformación y se tomará nota de la condición inicial del prototipo del sistema de control.

En el momento del ensayo, la temperatura interna inicial media será de 20 ± 10º C, la cual no diferirá en más de 5º C de la temperatura ambiente inicial.

8.2 Control del horno.

El control del horno se ajustará a lo dispuesto en el párrafo 8.3 del anexo de la resolución A.754(18).

8.3 Temperatura, duración del ensayo y operaciones durante el ensayo.

8.3.1 Se aumentará y estabilizará la temperatura media del horno a 200 ± 50º C en cinco minutos y se mantendrá a dicho nivel hasta que transcurran los primeros sesenta minutos. Seguidamente, la temperatura media del horno se aumentará de conformidad con la curva normalizada tiempo-temperatura hasta 945º C, partiendo de la temperatura de 200º C.

8.3.2 Las funciones de apertura y cierre del mecanismo de control de la puerta se comprobarán cada cinco minutos desde el comienzo del ensayo durante los sesenta minutos.

8.3.3 A una temperatura media del horno de 300º C, la conmutación automática aislará el sistema de control de la puerta del suministro de energía y podrá mantener la puerta cerrada hasta una temperatura de 945º C como mínimo.

8.4 Mediciones y observaciones del prototipo del sistema de control.

En los sistemas neumáticos o hidráulicos se registrará la presión de entrada, que será idéntica a la presión aprobada del sistema. Debido a la elevada presión de entrada, habrá que tomar las medidas de seguridad necesarias cuando se efectúe este ensayo.

9. Criterios de clasificación

9.1 Durante los primeros sesenta minutos del ensayo no fallará el prototipo del sistema de control de la puerta contraincendios.

9.2 Durante el período comprendido entre el final de los primeros sesenta minutos y el final del ensayo, la puerta permanecerá cerrada.

10. Informe sobre el ensayo

El informe sobre el ensayo deberá incluir toda la información de importancia relativa al prototipo del sistema de control y al ensayo de exposición al fuego, incluidos los puntos específicos siguientes:

1. Nombre del laboratorio de pruebas y fecha del ensayo;

2. Nombre del solitante del ensayo;

3. Nombre del fabricante del prototipo del sistema de control y de los productos y componentes utilizados en su construcción, así como marcas de identificación y nombres comerciales;

4. Detalles de la construcción del prototipo del sistema de control, incluidos la descripción, los dibujos y los principales detalles de sus componentes. Se facilitarán todos los detalles requeridos en la sección 2. La descripción y los dibujos que se incluyan en el informe sobre el ensayo estarán basados, en la medida de lo posible, en información obtenida mediante una inspección del prototipo del sistema de control. Cuando en el informe no se incluyan dibujos completos y detallados, el dibujo o los dibujos de la muestra estarán validados por el laboratorio, el cual conservará como mínimo una copia del dibujo o los dibujos validados; en este caso, se hará referencia en el informe al dibujo o los dibujos del solicitante, efectuándose una declaración en la que se indique el método seguido para su validación;

5. Todas las propiedades de los materiales utilizados que afecten a la resistencia al fuego del prototipo del sistema de control, junto con las mediciones del espesor y la densidad del material o los materiales aislantes;

6. Una declaración de que el ensayo se ha realizado de conformidad con lo dispuesto en el presente apéndice, y si se han introducido algunas variaciones en los procedimientos prescritos (incluido cualquier requisito especial de la Administración), una declaración que indique claramente dichas variaciones;

7. El nombre del representante de la Administración presente durante el ensayo. Cuando el ensayo no haya sido presenciado por ningún representante de la Administración, el informe deberá incluir una nota en este sentido que indique lo siguiente:

«Se notificó a... (nombre de la Administración)... el propósito de llevar a cabo el ensayo que se indica en el presente informe, pero no consideró necesario enviar un representante para presenciarlo.»

8. Información sobre el emplazamiento de los indicadores de presión u otros dispositivos, junto con los datos tabulados obtenidos en cada dispositivo de presión durante el ensayo;

9. Observaciones sobre las características importan­tes del comportamiento del prototipo del sistema de con­trol durante el ensayo y las fotografías de que se dis­ponga, y

10. Una declaración de que el prototipo del sistema de control de las puertas contraincendios ha pasado el ensayo y satisface los criterios de clasificación.

Imagen: /datos/imagenes/disp/1999/86/08177_7875951_image3.png

APENDICE 5. ENSAYO DE INFLAMABILIDAD DE LAS SUPERFICIES

1. Aplicación

Cuando se requiera que un producto tenga una superficie con características de débil propagación de la llama, el producto deberá cumplir lo dispuesto en la presente parte.

2. Procedimiento de ensayo de exposición al fuego

2.1 Los materiales de superficie se someterán a ensayo y se evaluarán de conformidad con el proce­dimiento de ensayo especificado en la resolución A.653(16). A efectos de esta parte, el valor del calor total desprendido (Qt) por el revestimiento del piso, estipulado en la sección 10 del anexo de la resolución A.653(16), se sustituirá por ≤ 2,0 MJ. El ensayo podrá darse por terminado al cabo de cuarenta minutos.

2.2 Durante los ensayos de exposición al fuego de los materiales de acabado de mamparos, cielos rasos y cubiertas y revestimientos primarios de cubierta (véase la parte 6 del presente anexo en relación con los reves­timientos primarios de cubierta), hay muestras que pre­sentan varios fenómenos que causan dificultades al cla­sificar los materiales. El apéndice 1 de esta parte brinda orientación sobre la interpretación uniforme de tales resultados.

3. Prescripciones adicionales

3.1 Materiales de superficie de mamparos y cielos rasos y superficies expuestas análogas.

En caso de que haya una prescripción relativa al valor calorífico bruto máximo de un producto (por ejemplo 45 MJ/m2), se recomienda utilizar el método especi­ficado en la norma ISO 1716 de 1973 para determinar el valor calorífico bruto.

3.2 Revestimientos del piso y revestimientos prima­rios de cubierta.

3.2.1 Un revestimiento primario de cubierta es la primera capa de construcción del piso que se aplica directamente sobre la plancha de cubierta y comprende cualquier revestimiento primario, compuesto anticorro­sivo o adhesivo necesario para proporcionar protección o adhesión a la plancha de cubierta. Otras capas de la construcción del piso sobre la plancha de cubierta son los revestimientos de cubierta.

3.2.2 Cuando se requiera que un revestimiento de cubierta tenga características de débil propagación de la llama, todas las capas cumplirán lo dispuesto en la parte 5. Si la superficie del piso está formada por varias capas, la Administración podrá exigir que se someta a ensayo cada capa o una combinación de algunas de las capas de los revestimientos de los pisos. Cada capa o combinación de capas del revestimiento de cubierta cumplirá por sí sola lo dispuesto en esta parte (es decir, el ensayo y la aprobación son sólo aplicables a esta combinación). Cuando se requiera que un revestimiento primario de cubierta no sea fácilmente inflamable y esté colocado debajo de un revestimiento de cubierta, el revestimiento primario de cubierta cumplirá lo dispuesto en la parte 6. Cuando el revestimiento primario de cubier­ta sea también la superficie expuesta, cumplirá lo dis­puesto en esta parte. El primer revestimiento o la delgada película de pintura sobre la plancha de cubierta no necesita cumplir las prescripciones anteriores de la parte 6.

3.3 Conductos de ventilación combustibles.

3.3.1 Cuando se requiera que los conductos de ventilación combustibles sean de un material que tenga características de débil propagación de la llama, se apli­carán a tales conductos el procedimiento de ensayo sobre inflamabilidad de las superficies y los criterios para los acabados de revestimientos y cielos rasos, de con­formidad con la resolución A.653(16). Si se utilizan mate­riales homogéneos para los conductos, se someterá a ensayo la superficie exterior del conducto, mientras que si se emplean materiales compuestos, se someterán a ensayo ambos lados del conducto.

3.4 Materiales aislantes para los sistemas de pro­ducción de frío.

Cuando se requiera que las superficies expuestas de los acabados anticondensación y los adhesivos utilizados con el material aislante de los sistemas de producción de frío, así como el de los accesorios de las tuberías de tales sistemas, tengan características de débil pro­pagación de la llama, se aplicará a tales superficies expuestas el procedimiento de ensayo de inflamabilidad de la superficie y los criterios para revestimientos y cielos rasos, de conformidad con la resolución A.653( 16).

3.5 Otras referencias.

La parte 2 del presente anexo es también aplicable a los materiales de superficie.

APÉNDICE

Interpretación de los resultados

Evaluación del comportamiento inusual de las muestras del ensayo

(Véase el párrafo 2.2 de esta parte)

  Comportamiento inusual Orientación sobre la clasificación
 1. Destellos, llama no estable. Notificar la hora y el avance ulterior de la llama y si los destellos se producen en la línea central o no. Clasificar de acuerdo con los datos.
 2. Chisporroteo explosivo, sin destellos ni llama. Considerar que el material ha pasado la prueba.
 3. Rápidos destellos en la superficie, con posterior avance estable de la llama. Notificar los resultados en ambos frentes de la llama pero efectuar la clasificación de acuerdo con el peor comportamiento de cada uno de los cuatro parámetros de ensayo en los dos regímenes de combustión.
 4. La muestra o el revestimiento se derrite y gotea, no hay llama. Notificar el comportamiento y extensión del avance sobre la muestra.
 5. Astillamiento explosivo y llama en la parte expuesta de la muestra. Informar sobre las explosiones y efectuar la clasificación de acuerdo con el avance de la llama, independientemente de que esté por encima o por debajo de la línea central.
 6. La muestra o el revestimiento se funde, arde y gotea. Rechazar el material sin tener en cuenta los criterios. En el caso de revestimientos del piso, no se aceptarán más de 10 gotas ardientes.
 7. La llama piloto se extingue. Notificar el hecho, rechazar los datos y repetir el ensayo.
 8. La señal de desprendimiento de calor tras el ensayo y la reinserción de la muestra simulada a un nivel más alto y más bajo que el nivel de estabilización inicial. Rechazar los datos y estabilizar el equipo, después repetir el ensayo.
 9. Retraso muy breve en la ignición de las alfombras o muestras no rígidas. Podría originarse por extensión de la pila sobre la superficie sujetadora, reduciendo el espacio de la llama piloto. Repetir con calces como prescribe el procedimiento del párrafo 8.1.1 del anexo de la resolución A.653 (16).
10. La muestra se rompe y se desprende del bastidor. Notificar el comportamiento, pero efectuar la clasificación de acuerdo con el peor comportamiento obtenido con y sin la sujeción indicada en el párrafo 8.3.2 del anexo de la resolución A.653 (16).
11. Chorro considerable de gases combustibles resultantes de la pirólisis de la muestra, el adhesivo o los productos aglutinantes. Rechazar el material.
12. Permanece una pequeña llama en el borde de la muestra. Notificar el comportamiento y terminar el ensayo tres minutos después de la aparición de la llama en la superficie expuesta de la muestra.

APÉNDICE

PARTE 6. ENSAYO DE LOS REVESTIMIENTOS PRIMARIOS DE CUBIERTA

1. Aplicación

1.1 Cuando se requiera que los revestimientos primarios de cubierta no sean fácilmente inflamables, cumplirán lo dispuesto en la presente parte.

1.2 Para determinar qué capas de la cubierta se someterán a ensayo como revestimientos de cubierta o como revestimientos primarios de cubierta, véase el párrafo 3.2 de la parte 5.

2. Procedimiento de ensayo de exposición al fuego

2.1 Los revestimientos primarios de cubierta se someterán a ensayo y evaluarán de conformidad con el procedimiento de ensayo de exposición al fuego especificado en la resolución A.687 (17).

2.2 El ensayo terminará al cabo de cuarenta minutos.

3. Prescripciones adicionales

La parte 2 del presente anexo 1 es también aplicable a los revestimientos primarios de cubierta.

PARTE 7. ENSAYO DE TEXTILES Y PELÍCULAS COLOCADOS VERTICALMENTE

1. Aplicación

Cuando se requiera que los tapices, cortinas y otros materiales textiles colocados verticalmente tengan una capacidad de resistencia a la propagación de la llama no inferior a la de lana con una masa de 0,8 kg/m2, cumplirán lo dispuesto en la presente parte.

2. Procedimiento de ensayo de exposición al fuego

Los textiles y películas colocados verticalmente a ensayo y evaluarán de conformidad con el procedimiento de ensayo de exposición al fuego especificado en la resolución A.471 (XII) enmendadas por la resolución A.563 (14).

3. Prescripciones adicionales

Los ensayos se efectuarán utilizando muestras del producto final (es decir, tratado con color). Cuando sólo cambien los colores, no es necesario realizar un nuevo ensayo. Sin embargo, cuando cambie el producto base o el proceso de tratamiento, se requiere efectuar un nuevo ensayo.

PARTE 8. ENSAYO DE MOBILIARIO TAPIZADO

1. Aplicación

Cuando se requiera que el mobiliario tapizado tenga capacidad de resistencia a la ignición y a la propagación de la llama, cumplirá lo dispuesto en la presente parte.

2. Procedimiento de ensayo de exposición al fuego

El mobiliario tapizado se someterá a ensayo y evaluará de conformidad con el procedimiento de ensayo de exposición al fuego a que se refiere la resolución A.652 (16).

3. Prescripciones adicionales

Los ensayos se efectuarán utilizando muestras del producto final (es decir, tratado con color). Cuando sólo cambien los colores, no es necesario realizar un nuevo ensayo. Sin embargo, cuando cambie el producto base o el proceso de tratamiento, se requiere efectuar un nuevo ensayo.

PARTE 9. ENSAYO DE ARTÍCULOS DE CAMA

1. Aplicación

Cuando se requiera que los artículos de cama tengan capacidad de resistencia a la ignición y a la propagación de la llama, cumplirán lo dispuesto en la presente parte.

2. Procedimiento de ensayo de exposición al fuego

Los artículos de cama se someterán a ensayo y se evaluarán de conformidad con el procedimiento de ensayo de exposición al fuego especificado en la resolución A.688 (17).

3. Prescripciones adicionales

Los ensayos se efectuarán utilizando muestras del producto final (es decir, tratado con color). Cuando sólo cambien los colores, no es necesario realizar un nuevo ensayo. Sin embargo, cuando cambie el producto base o el proceso de tratamiento, se requiere efectuar un nuevo ensayo.

ANEXO 2
Productos que se pueden instalar sin ser objeto de ensayo y/o aprobación

Cuestiones generales

En general, se considera que los productos y grupos de productos enumerados en el presente anexo tienen las características pirorresistentes indicadas a continuación, y que se pueden instalar sin que se les someta a ensayo y se les apruebe en base a los procedimientos específicos de ensayos de exposición al fuego del presente Código por lo que respecta a las características específicas de seguridad del producto.

Los siguientes párrafos tienen el mismo número que el de la parte del anexo 1 en que figuran las prescripciones correspondientes sobre el ensayo.

1. Materiales incombustibles

En general, se considera que los productos fabricados únicamente con vidrio, cemento, materiales cerámicos, piedra natural, unidades de mampostería y metales comunes o aleaciones son incombustibles y pueden instalarse sin ser objeto de ensayo y aprobación.

2. Materiales que no desprenden cantidades excesivas de humo ni productos tóxicos en caso de incendio

2.1 En general, se considera que los materiales incombustibles cumplen lo dispuesto en la parte 2 del anexo 1 sin que sea necesario efectuar un ensayo adicional.

2.2 En general, se considera que los materiales de superficie y los revestimientos primarios de cubierta en que la totalidad de calor desprendido (Qt) no sea superior a 0,2 MJ y el caudal máximo de calor desprendido (qp) no sea superior a 1,0 kW [ambos valores determinados de conformidad con la parte 5 del anexo 1 o con la resolución A.635 (16)] cumplen lo dispuesto en la parte 2 del anexo 1 sin que sea necesario efectuar un ensayo adicional.

3. Divisiones de clase «A», «B» y «F»

3.1 Los siguientes productos pueden instalarse sin necesidad de ensayo o aprobación:

Clasificación: Mamparo de clase A-0. Descripción del producto: Mamparo de acero cuyas dimensiones no son inferiores a las dimensiones mínimas que figuran a continuación:

Espesor de las planchas: 4 milímetros.

Refuerzos de 60 × 60 × 5 milímetros espaciados 600 milímetros o una estructura equivalente.

Clasificación: Cubierta de clase A-0. Descripción del producto: Cubierta de acero cuyas dimensiones no son inferiores a las dimensiones mínimas que figuran a continuación:

Espesor de las planchas: 4 milímetros.

Refuerzos de 95 × 65 × 7 milímetros espaciados 600 milímetros o una estructura equivalente.

3.2 No obstante lo dispuesto en el anterior párrafo 3.1, si se requiere que los materiales utilizados en divisiones de clase «A», «B» y «F» tengan otras características específicas determinadas (por ejemplo, incombustibilidad, débil propagación de la llama, etc.), cumplirán lo dispuesto en las partes apropiadas del anexo 1 o de la sección 8 y en el anexo 3 del presente Código.

4. Sistemas de control de las puertas contra incendios

(Sin anotaciones.)

5. Superficies con débil propagación de la llama

5.1 Se considera que los materiales incombustibles cumplen lo dispuesto en la parte 5 del anexo 1. Sin embargo, se prestará debida atención al método de aplicación y fijación (por ejemplo, cola).

5.2 Se considera que los revestimientos primarios de cubierta clasificados como no fácilmente inflamables de conformidad con lo dispuesto en la parte 6 del anexo 1, cumplen dispuesto en la parte 5 del anexo 1 en relación con los revestimientos del piso.

6. Revestimientos primarios de cubierta

Se considera que los revestimientos primarios de cubierta cumplen lo dispuesto en la parte 6 del anexo 1. Sin embargo, se prestará debida atención al método de aplicación y fijación.

7. Textiles y películas colocadas verticalmente

(Sin anotaciones.)

8. Mobiliario tapizado

(Sin anotaciones.)

9. Artículos de cama

(Sin anotaciones.)

ANEXO 3
Utilización de otros procedimientos de ensayo de exposición al fuego

Las Administraciones podrán utilizar otros procedimientos de ensayo diferentes a los mencionados en el anexo 1 como se indica a continuación:

1. Para los procedimientos de ensayo de exposición al fuego aprobados anteriormente por la Asamblea, las fechas de expiración figuran en el cuadro siguiente, y

2. Para otros procedimientos de ensayo y criterios de aceptación establecidos y aplicados por una Administración, la fecha de expiración de los ensayos es el 31 de diciembre de 1998 y la fecha de expiración de la aprobación es el 31 de diciembre de 2003.

Productos

(parte referenciada del anexo 1)

Procedimiento de ensayo

Fecha de expiración del ensayo

Fecha de expiración de la aprobación

Materiales incombustibles (parte 1).

Resolución A.472 (XII).

31-12-1998 31-12-2003

Resolución A.270 (VIII).

1- 7-1997 1- 7-2002

Materiales que no desprenden cantidades excesivas de humo ni productos tóxicos

(parte 2).

Divisiones de clase A, B y F (parte 3).

Resolución A.517 (13).

31-12-1998 31-12-2003

Resolución A.163 ( E S. I V ) * e n mendada por la Resolución

A.215 (VII).

1- 7-1997 1- 7-2002
 

Resolución A.163 (ES.IV) *.

   
Sistemas de control de las puertas contraincendios (parte 4).
Materiales de superficie (parte 5).

Resolución A.564 (14).

31-12-1998 31-12-2003

Resolución A.516 (13).

31-12-1998 31-12-2003
Revestimientos primarios de cubierta (parte 6).

Resolución A.214 (VII).

31-12-1998 31-12-2003
T e x t i l e s c o l o c a dos verticalmente (parte 7).

Resolución A.471 (XII).

31-12-1998 31-12-2003
Mobiliario tapizado (parte 8).

Artículos de cama(parte 9).

* En los criterios de aceptación establecidos por las Resoluciones A.163(ES.IV) y A.517(13) se puede utilizar un aumento de la temperatura máxima media de 140º C en lugar de 139º C.

El presente Código entró en vigor, de forma general y para España, el 1 de julio de 1998, de conformidad con lo establecido en el artículo VIII.b), vii), 2) del Convenio.

Lo que se hace público para conocimiento general.

Madrid, 25 de marzo de 1999.–El Secretario general Técnico, Julio Núñez Montesinos.

ANÁLISIS

  • Rango: Acuerdo Internacional
  • Fecha de disposición: 05/12/1996
  • Fecha de publicación: 10/04/1999
  • Fecha de entrada en vigor: 01/07/1998
  • Fecha Resolución Ministerio de Asuntos Exteriores: 25 de marzo de 1999.
Referencias posteriores

Criterio de ordenación:

  • SE PUBLICA Enmienda:
  • CORRECCIÓN de erratas en BOE num. 109, de 7 de mayo de 1999 (Ref. BOE-A-1999-10231).
Referencias anteriores
  • DE CONFORMIDAD con el Convenio de 1 de noviembre de 1974 (SOLAS) (Ref. BOE-A-1980-12179).
  • CITA Convenio de 6 de marzo de 1948 (OMI), (Ref. BOE-A-1989-5520).
Materias
  • Acuerdos internacionales
  • Incendios
  • Seguridad de la vida humana en el mar

subir

Agència Estatal Butlletí Oficial de l'Estat

Avda. de Manoteras, 54 - 28050 Madrid