Contingut no disponible en valencià

Us trobeu en

Documento BOE-A-1981-17509

Resolución de 22 de julio de 1981, de la Dirección General de Trabajo, por la que se aprueba la norma técnica reglamentaria MT-24, sobre equipos de protección personal de vías respiratorias: Semiautónomos de aire fresco con manguera de presión.

Publicado en:
«BOE» núm. 184, de 3 de agosto de 1981, páginas 17708 a 17713 (6 págs.)
Sección:
I. Disposiciones generales
Departamento:
Ministerio de Trabajo, Sanidad y Seguridad Social
Referencia:
BOE-A-1981-17509
Permalink ELI:
https://www.boe.es/eli/es/res/1981/07/22/(1)

TEXTO ORIGINAL

Ilustrísimos señores:

En aplicación de la Orden de 17 de mayo de 1974, por la que se regula la homologación de los medios de protección personal de los trabajadores, a propuesta del Servicio Social de Higiene y Seguridad del Trabajo, previo informe de la Secretaría General Técnica, oída la Inspección de Trabajo y Seguridad Social, y Organismos relacionados con la materia,

Esta Dirección General de Trabajo acuerda:

Primero.

Se aprueba, dentro del campo de aplicación de la Ordenanza General de Seguridad e Higiene en el Trabajo, de 9 de marzo de 1971, la adjunta norma técnica reglamentaria MT-24, sobre equipos de protección personal de vías respiratorias: Semiautónomos de aire fresco con manguera de presión.

Segundo.

De conformidad con lo previsto en el artículo 1 de la Orden de 17 de mayo de 1974, por la que se regula la homologación de los medios de protección personal de los trabajadores, se fija el plazo de un año a partir de la vigencia de esta norma, para la iniciación de la prohibición de utilizar equipos de protección personal de vías respiratorias: Semiautónomos de aire fresco con manguera de presión, cuyos prototipos no hayan sido homologados, y que carezcan del sello establecido en el artículo 5 de dicha orden.

Tercero.

Aquellos equipos de protección personal de vías respiratorias: Semiautónomos de aire fresco con manguera de presión, que por haber sido adquiridos antes de la homologación de su prototipo carecieran del sello reglamentario, no podrán ser utilizados a partir de le, fecha expresada en el apartado anterior, salvo que por sus propietarios se recabare del titular del expediente de homologación correspondiente, que les facilite el número de sellos necesarios para su colocación en los mismos.

En el supuesto de que se trate de equipos de protección personal de vías respiratorias: Semiautónomos de aire fresco con manguera de presión, que hayan dejado de fabricarse, o de importarse, podrán sus propietarios solicitar de esta Dirección General su homologación, y ésta acordará, si lo considera justificado, que se tramite la correspondiente homologación siguiendo el procedimiento ordinario.

Lo que participo a VV. II. para su conocimiento y efectos.

Dios guarde a VV. II.

Madrid, 22 de julio de 1981.‒El Director general, Fernando Somoza Albardonedo.

Ilmos. Sres. Jefe de la Inspección de Trabajo y Seguridad Social, Jefe de la Inspección General de Servicios, Director ejecutivo del Servicio Social de Higiene y Seguridad del Trabajo y Delegados provinciales de Trabajo y Delegados territoriales de Sanidad y Seguridad Social.

Norma técnica reglamentaria MT-24, sobre equipos de protección personal de vías respiratorias: Semiautónomos de aire fresco con manguera de presión

INDICE

Introducción.

1. Alcance y generalidades:

1.1 Objeto.

1.2 Definiciones.

1.3 Descripción.

1.4 Clasificación.

2. Características y requisitos:

2.1 De los adaptadores faciales.

2.2 Generales.

2.2.1 Materiales.

2.2.2 Aspecto y funcionalidad.

2.3. Hermeticidad.

2.3.1 Tubo de respiración.

2.3.2 Manguera y acoplamiento.

2.4 Pérdida de carga.

2.5 Permeabilidad de la manguera a disolventes orgánicos.

2.6 De los soplantes manuales.

2.7 De los soplantes a motor.

2.8 Contraindicaciones.

3. Ensayos:

3.1 Inspección general.

3.2 Hermeticidad del tubo de respiración.

3.3 Prueba mecánica de la manguera y acoplamientos.

3.4 Hermeticidad de la manguera y acoplamientos.

3.5 Pérdida de carga.

3.6 Permeabilidad de la manguera a disolventes orgánicos.

3.7 Par de arranque.

3.8 Energía de mantenimiento.

3.9 Conservación de prestaciones.

3.10 Evaluación de resultados.

4 Anexo: Figuras.

Introducción:

La presente norma determina los métodos de ensayo, así como las características y requisitos que deben cumplir, para su homologación, los equipos semiautónomos de aire fresco con manguera de presión, considerados como parte integrante de las unidades funcionales del mismo nombre.

Los citados equipos pueden utilizarse en ambientes con sustancias tóxicas y/o deficiencia de oxigeno, debidamente acoplados a sus correspondientes adaptadores faciales.

En aquellos ambientes contaminados por agentes agresivos en los que puedan existir riesgos de intoxicación inmediata, la utilización de estos equipos quedará supeditada a la hermeticidad global del adaptador facial correspondiente.

Los equipos semiautónomos a que hace referencia esta norma, sólo suministran protección respiratoria, quedando excluidos del ámbito de la misma aquellos subtipos de unidades funcionales que completen su acción con elementos adicionales que tengan por objeto proteger la cabeza y nuca del usuario contra riesgos de impacto y abrasión.

Los procedimientos para la homologación de los equipos o unidades semiautónomos de aire comprimido serán objeto en el futuro de la norma técnica correspondiente.

1. Alcance y generalidades

1.1 Objeto. La presente norma tiene por objeto establecer las especificaciones mínimas que habrán de cumplir los equipos semiautónomos de aire fresco con manguera de presión, indicando los ensayos que han de superar.

1.2 Definiciones. A efectos de la presente norma se adoptar las siguientes definiciones:

Acoplamiento principal. Elemento que sirve de unión entre el tubo de respiración y la manguera y que, convenientemente fijado a los elementos de sujeción, impide que se transmita al tubo de respiración cualquier esfuerzo procedente de la manguera.

Acoplamiento secundario. Elemento que sirve de unión entre dos partes de una misma manguera de presión.

Adaptador facial. Parte de la unidad funcional semiautónoma de aire fresco, tipo de presión, que está en contacto directo con la cara del usuario.

Ambiente deficiente en oxígeno. Aquel cuyo contenido en oxígeno sea inferior al 18 por 100 en volumen.

Elementos de sujeción. Aquellos que sostienen y adaptan el equipo al cuerpo del usuario.

ESP. Equipo semiautónomo de aire fresco. Parte de la unidad funciona semiautónoma de aire fresco, tipo de presión, compuesta básicamente por tubo de respiración, elementos de sujeción, acoplamiento principal, acoplamientos secundarios (si los hay) y fuente suministradora de aire o soplante.

Manguera suministradora de aire fresco, tipo de presión. Tubo flexible a través del cual llega el aire respirable el tubo de respiración, se extiende desde el acoplamiento principal hasta el soplante o fuente de alimentación.

Pérdida de carga. Diferencia de presión entre los extremos de equipo debido a la resistencia opuesta por éste a la inhalación.

Pieza de conexión. Parte destinada a acoplar el tubo de respiración al adaptado facial.

Soplante. Dispositivo de alimentación de aire, capaz de suministrar un caudal de aire adecuado para la respiración del usuario y originar en el adaptador facial una pequeña presión positiva, pudiendo ser manual o a motor.

Tubo de respiración. Conducto flexible a través del cual llega el aire respirable al usuario; se extiende desde la pieza de conexión con el adaptador facial hasta el acoplamiento principal.

UFSP. Unidad funcional semiautónoma de aire fresco, tipo de presión, compuesta básicamente por adaptador facial, tubo de respiración, elementos de sujeción, manguera, acoplamiento principal, acoplamientos, secundarios (si los hay) y soplante.

1.3 Descripción. Una unidad funcional semiautónoma de aire fresco con manguera de presión (UFSP), desde el punto de vista operativo, es aquella mediante la cual el usuario inhala aire precedente de un lugar no contaminado que le suministra un soplante movido manualmente o a motor. Si el soplante no actúa, no importa cuál sea el motivo, será requisito indispensable que la unidad se comporte como si fuese de manguera de aspiración.

Para efectos de esta norma, se entenderá como equipo semiautónomo de aire fresco con manguera de presión (ESP) el conjunto formado por tubo de respiración, elementos de sujeción, acoplamiento principal, manguera y soplante.

La manguera podrá ser de una pieza o estar constituida por dos o más tramos homogéneos unidos entre sí por sus correspondientes acoplamientos secundarios.

Otros elementos accesorios podrán incorporarse al equipo, siempre que no mermen sus características funcionales y prestaciones.

1.4 Clasificación. Atendiendo al grado de permeabilidad frente a los hidrocarburos de las respectivas mangueras de presión, los equipos semiautónomos a que hace referencia la presente norma, se clasificarán en los siguientes tipos:

Tipo A: Cumplirán lo establecido en los apartados 2.2, 2.3, 2.4 y 2.6.

Tipo B: Cumplirán, además de lo indicado para los del tipo A, el requisito prescrito en 2.5.

2. Características y requisitos

2.1 De los adaptadores faciales. Los adaptadores faciales a los que se acoplan los equipos semiautónomos de aire fresco con manguera de presión habrán de pertenecer a uno de los tipos definidos en la norma técnica reglamentaria MT-7, sobre equipos de protección personal de vías respiratorias: Normas comunes y adaptadores faciales, y cumplirán las características y requisitos que la misma prescribe.

2.2 Generales:

2.2.1 Materiales. Los materiales constituyentes de los componentes básicos cumplirán las siguientes características:

‒ Serán incombustibles o de combustión lenta.

‒ Su olor no podrá ser causa de trastornos en el usuario.

‒ No producirán enfermedad alguna.

2.2.2 Aspecto y funcionalidad. Los equipos semiautónomos cuya homologación se solicite en virtud de la presente norma técnica, poseerán las siguientes características:

‒ Funcionalidad del soplante que permita, en caso de avería, el paso del aire a su través.

‒ Funcionalidad adecuada de los elementos de sujeción y adaptabilidad de los mismos a varias tallas.

‒ Facilidad de montaje de los acoplamientos.

‒ Flexibilidad y funcionalidad del tubo de respiración.

‒ Homogeneidad de los tramos de las mangueras.

‒ El soplante podrá girar en una sola dirección o en ambas, pero en el sentido que lo haga tendrá que suministrar el aire que se exige y en las condiciones reglamentadas.

‒ En ningún equipo existirá un sistema múltiple de soplantes; el suministro de aire al usuario debe efectuarse por un solo soplante.

2.3 Hermeticidad:

2.3.1 Tubo de respiración. No existirán fugas en el tubo de respiración ni en sus uniones a la pieza de conexión y al acoplamiento principal, al ser sometido al ensayo descrito en el apartado 3.2 (hermeticidad del tubo de respiración).

2.3.2 Manguera y acoplamiento. No existirán fugas en la manguera de presión ni en su uniones al acoplamiento principal, y a los secundarios (caso que los hubiere), al ser sometida al ensayo descrito en el apartado 3.4.

Tampoco se observarán fugas en los trozos de la manguera de presión, ni en el acoplamiento principal ni en los secundarios (si los hubiere), al someterle al ensayo del apartado 3.4 tras efectuar la prueba indicada en el apartado 3.3.

2.4 Pérdida de carga. La pérdida de carga a la inhalación del equipo semiautónomo (ESP), sumada a la que origina el adaptador facial, no superará los 60 milímetros c, d. a. (588,6 Pa) al ser sometido al ensayo descrito en el apartado 3.5

2.5 Permeabilidad de la manguera a disolventes orgánicos El aire de salida de la manguera no tendré una concentración en hexano superior a 100 ppm, en volumen, al ser sometida al ensayo descrito en el apartado 3.6.

2.6 De los soplantes manuales: El esfuerzo máximo que el usuario tendrá que aplicar a la manivela de la soplante será:

‒ Para iniciar el movimiento (par de arranque) no superará los 0,5 kilogramos.

‒ Para mantener un caudal de 50 litros por minuto a una velocidad que no supere las 50 revoluciones por minuto, el par de mantenimiento no será superior a 0,5 kilogramos.

2.7 De los soplantes a motor. La conexión entre el motor y el soplante seré de tal forma que sea fácil desconectarlo para trabajar con él manualmente, en cuyo caso, cumplirá con los requisitos que se exigen a los soplantes manuales.

El soplante a motor trabajará de forma que a 50 rpm, el cama que suministre al equipo no exceda de 150 litros por minuto.

2.8 Contraindicaciones. Los equipos semiautónomos que caen dentro del ámbito de aplicación de esta norma nunca se podrán usar con aire comprimido procedente de recipientes a presión o compresores.

3. Ensayos

3.1 Inspección general. Se realizarán los exámenes necesarios para comprobar que los equipos semiautónomos, objeto de esta norma, no presentan ninguna contradicción con las prescripciones reglamentarias.

Asimismo, se procederá a la verificación de las características indicadas en el apartado 2.2.

3.2 Hermeticidad del tubo de respiración. Con arreglo a) montaje de la figura 1, se procede como sigue: Una vez sellado el acopiamiento principal, se creará en el interior del tubo de respiración una presión de 120 milímetros cda (1.777,2 Pa), con aire saturado de vapores de amoniaco, ajustándose esta presión mediante la válvula de escape. A continuación se aplicará al tubo de respiración y a las uniones del mismo con la pieza de conexión y acoplamiento principal, un trapo blanco humedecido con una solución de fenolftaleína al 0,2 por 100.

El trapo se coloreará de rojo en los puntos donde existan fugas.

3.3. Prueba mecánica de la manguera y acoplamientos. De la manguera sometida al ensayo de hermeticidad descrito en el apartado 3.4 se cortará un trozo de 600 milímetros de longitud que incluirá el acoplamiento principal.

En el caso de que la manguera en cuestión tuviere acoplamientos secundarios, se tomará además, un trozo de la misma longitud del anterior, que contendrá uno de estos acoplamientos.

Ambos trozos se someterán a una tracción de 100 kilogramos durante cinco minutos.

3.4 Hermeticidad de la manguera y acoplamiento: La manguera con los acoplamientos secundarios que tuviere y con el principal sellado se sumergirá en agua como muestra el esquema de a figura 2 creando en su interior una presión de aire de 0,5 kilogramos por centímetro cuadrado (49.000 Pa), que se mantendrá durante un minuto.

3.5 Pérdida de carga. Con arreglo al esquema de la figura 3, la manguera se enrollará en un carrete de 40 centímetros de diámetro, procediéndose como sigue:

Se conecta el montaje al vacío, regulándose el caudal a 85 litros por minuto. Una vez regulado dicho caudal, el manómetro diferencial indicará la pérdida de carga.

Seguidamente a la manguera extendida tal como se indica en el esquema de la figura 4, se le colocará en la mitad de su longitud 6 en un punto equidistante de dos acoplamientos de la misma, un peso de 100 kilogramos distribuido sobre una superficie metálica de 300 por 300 milímetros En estas condiciones se determinará la pérdida de carga para un flujo continuo de 85 litros por minuto.

3.6 Permeabilidad de la manguera a disolventes orgánicos.

La manguera se sumerge en hexano, como se indica en el esquema de la figura 5 y se le hace pasar un caudal de aire de 8 litros por minuto durante seis horas, al cabo de las cuales se determina la concentración de hexano en volumen del aire de salida.

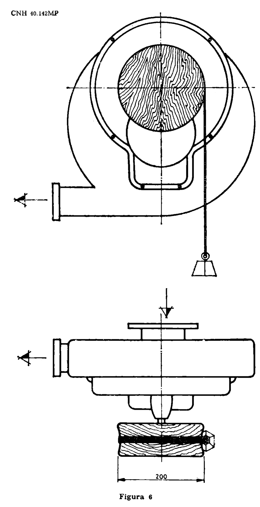
3.7 Par de arranque. Para medir el par de arranque se instalará en el eje del soplante una polea de 20 centímetros de diámetro, en la que se acoplará una correa tal como se indica en el esquema de la figura 6; en dicha correa se irán acoplando pesas hasta lograr un par de arranque que sea capaz de hacer girar el eje de la soplante.

3.8 Energía de mantenimiento. Para medir la energía de mantenimiento se acoplará al eje del soplante una llave dinamométrica graduable calibrada a 0,5 kilogramos y se actuará sobre la misma hasta lograr una velocidad de 50 revoluciones por minuto En el caso de no ceder la llave, se entenderá que la energía aplicada es inferior al máximo permisible.

3.9 Conservación de prestaciones. La soplante, tanto manual como a motor, que haya superado las anteriores pruebas, se someterá durante ocho jornadas de ocho horas a un trabajo ininterrumpido v tras dicha prueba deberá conservar las prestaciones iniciales

3.10 Evaluación de resultados. Si en un ensayo determinado sobre un equipo, los resultados están en el límite y dentro del límite de error de la técnica, empleada, se solicitarán nuevas muestras, con las que se verificará ese ensayo, debiendo dar resultados claramente favorables para considerar apto el equipo.

4. Anexo: Figuras

Imagen: /datos/imagenes/disp/1981/184/17509_16127207_image1.png

Imagen: /datos/imagenes/disp/1981/184/17509_16127207_image2.png

Imagen: /datos/imagenes/disp/1981/184/17509_16127207_image3.png

Imagen: /datos/imagenes/disp/1981/184/17509_16127207_image4.png

Imagen: /datos/imagenes/disp/1981/184/17509_16127207_image5.png

Imagen: /datos/imagenes/disp/1981/184/17509_16127207_image6.png

ANÁLISIS

  • Rango: Resolución
  • Fecha de disposición: 22/07/1981
  • Fecha de publicación: 03/08/1981
Referencias posteriores

Criterio de ordenación:

  • CORRECCIÓN de errores en BOE núm. 151 de 25 de junio de 1982 (Ref. BOE-A-1982-16021).
Referencias anteriores
  • DE CONFORMIDAD con el art. 1 de la Orden de 17 de mayo de 1974 (Ref. BOE-A-1974-843).
  • CITA ordenanza de 9 de marzo de 1971 (Ref. BOE-A-1971-380).
Materias
  • Seguridad e higiene en el trabajo

subir

Agència Estatal Butlletí Oficial de l'Estat

Avda. de Manoteras, 54 - 28050 Madrid