Contenu non disponible en français

Vous êtes à

Documento BOE-A-2025-20574

Orden TED/1139/2025, de 13 de octubre, por la que se establecen servicios mínimos de manera que quede garantizado el suministro de energía eléctrica, la seguridad de las personas y la seguridad de las instalaciones ante las diversas huelgas generales convocadas en el territorio nacional para el día 15 de octubre de 2025.

Publicado en:
«BOE» núm. 247, de 14 de octubre de 2025, páginas 133560 a 133746 (187 págs.)
Sección:
III. Otras disposiciones
Departamento:
Ministerio para la Transición Ecológica y el Reto Demográfico
Referencia:
BOE-A-2025-20574

TEXTO ORIGINAL

I

El Ministerio para la Transición Ecológica y el Reto Demográfico ha tenido conocimiento, con fecha 29 de septiembre de 2025, de la huelga convocada por la Confederación Sindical de la Unión General de Trabajadores (UGT) y de la Confederación Sindical de Comisiones Obreras (CC. OO.), y que afectará a todas las actividades laborales y funcionariales desempeñadas por los trabajadores y empleados públicos de las empresas y organismos establecidos dentro del ámbito geográfico y jurídico del Estado español, para el día 15 de octubre de 2025.

De acuerdo con el preaviso de huelga, ésta durará dos horas en cada uno de los turnos de trabajo del día 15 de octubre de 2025. En concreto, para las jornadas continuadas en turno de noche, la huelga se hará desde las 02:00 hasta las 04:00 horas; para las jornadas partidas y jornadas continuadas en turno de mañana, la huelga será de 10:00 a 12:00 horas; y para las jornadas continuadas en turno de tarde será de 17:00 a 19:00 horas.

Por otro lado, con fecha 1 de octubre de 2025 el Ministerio para la Transición Ecológica y el Reto Demográfico ha tenido conocimiento de la huelga convocada por la Central Unitaria de Traballadoras (CUT), y que afectará a todas las personas trabajadoras de los sectores público y privado de la Comunidad Autónoma de Galicia el día 15 de octubre de 2025.

De acuerdo con el preaviso de huelga, la misma queda convocada desde las 00:00 del día 15 de octubre de 2025 hasta las 23:59 del mismo día. Para aquellas personas trabajadoras que comiencen su jornada de trabajo antes de las 00:00 del día 15 de octubre y la finalicen antes del fin del mismo día y aquellas que comiencen su jornada durante el día 15 de octubre y la finalicen el día 16, la huelga queda convocada durante su jornada laboral.

Igualmente, con fecha 1 de octubre de 2025 el Ministerio para la Transición Ecológica y el Reto Demográfico ha tenido conocimiento de la huelga convocada por la Confederación Intersindical Galega (CIG), y que afectará asimismo a todas las personas trabajadoras de los sectores público y privado en la Comunidad Autónoma de Galicia el día 15 de octubre de 2025.

De acuerdo con el preaviso de huelga, la misma se convoca en las siguientes franjas horarias: de las 22:00 del día 14 de octubre de 2025 a las 02:00 del día 15 de octubre; de las 10:00 a las 14:00 del día 15 de octubre; y de las 18:00 a las 22:00 del mismo día 15.

Asimismo, con fecha 3 de octubre de 2025 el Ministerio para la Transición Ecológica y el Reto Demográfico ha tenido conocimiento de la huelga convocada por el Sindicato de Comisiones de Base, el Sindicato Único de Trabajadores Solidaridad Obrera y el Sindicato Alternativa Sindical de Clase, y que afectará a todos los empleadores privados y públicos del territorio nacional el día 15 de octubre de 2025.

De acuerdo con el preaviso de huelga, la misma queda convocada desde las 00:00 del día 15 de octubre de 2025 hasta las 23:59 del mismo día. Para aquellos centros de trabajo que estén organizados mediante sistema de turnos, la convocatoria de huelga comenzará en el último turno anterior a las 00:00 horas del día 15, abarcando igualmente al último turno que se inicie en el meritado día y que terminará cuando finalice dicho turno, al día siguiente.

Finalmente, con fecha 6 de octubre de 2025 el Ministerio para la Transición Ecológica y el Reto Demográfico ha tenido conocimiento de la huelga convocada por la Confederación Intersindical y que afectará a la totalidad de las trabajadoras y trabajadores del Estado español, así como a todos los centros de trabajo, el día 15 de octubre de 2025.

De acuerdo con el preaviso de huelga, la misma queda convocada desde las 00:00 del día 15 de octubre de 2025 hasta las 24:00 horas del mismo día.

Conforme a lo anterior, resulta de aplicación el Real Decreto 1170/1988, de 7 de octubre, sobre prestación de servicios mínimos en las Empresas afectas al servicio público de suministro de energía eléctrica ante situaciones de huelga.

Dicho real decreto, en su artículo 1.º establece que «las situaciones de huelga que afecten al personal que preste sus servicios en las Empresas de producción, transporte y de distribución de energía eléctrica, se entenderán condicionadas al mantenimiento de los servicios mínimos».

El artículo 2.º de dicho real decreto establece que los servicios mínimos a que se refiere el artículo anterior serán los siguientes:

«Se mantendrán los niveles operativos reglamentarios necesarios para garantizar la seguridad de las personas y bienes en todas las instalaciones afectas al servicio público de suministro de energía eléctrica.

Se autoriza a la Delegación del Gobierno en la Explotación del Sistema Eléctrico, considerando de forma estricta la fiabilidad de la cobertura del sistema eléctrico nacional, a determinar la disponibilidad de las instalaciones de generación, transporte y distribución de manera que quede garantizada la continuidad del suministro de energía eléctrica y preservada la estabilidad del sistema eléctrico.

La disponibilidad a la que se refiere el párrafo anterior se determinará teniendo en cuenta la utilización preferente de las instalaciones no afectas por la huelga.

En caso de ser necesario el funcionamiento de alguna de las instalaciones que se determinen como disponibles para garantizar la cobertura del sistema eléctrico nacional, las órdenes emitidas por el Centro de Control Eléctrico de «Red Eléctrica de España, SA», deberán contar previamente con la aprobación de la Delegación del Gobierno en la Explotación del Sistema Eléctrico.

El Ministerio de Industria y Energía determinará, oídos los Comités de Huelga y las empresas, la plantilla necesaria para cubrir los servicios señalados».

Como consecuencia del paso del tiempo y de las sucesivas restructuraciones de los Departamentos Ministeriales, las funciones recogidas en el artículo 2 del citado real decreto, han sido asumidas por la Dirección General de Política Energética y Minas y por el Ministerio para la Transición Ecológica y el Reto Demográfico.

II

La Ley 24/2013, de 26 de diciembre, del Sector Eléctrico, en su artículo 2, establece que tendrán la consideración de servicio de interés económico general las actividades destinadas al suministro de energía eléctrica.

Por su parte, Red Eléctrica de España, SA, en su calidad de Operador del Sistema, a tenor de lo contemplado en el artículo 30 de la Ley 24/2013, de 26 de diciembre, tiene como función principal garantizar la continuidad y seguridad del suministro eléctrico y la correcta coordinación del sistema de producción y transporte. En este sentido, las funciones que la referida ley encomienda al Operador del Sistema son las establecidas en su artículo 30.2, definiéndolo como garante de la seguridad de abastecimiento de electricidad, del estado de disponibilidad adecuado de la red para la seguridad del sistema, de la correcta explotación del sistema de producción y transporte de acuerdo con los criterios de fiabilidad y seguridad, de que la red de transporte pueda satisfacer a largo plazo la demanda de transporte de electricidad, así como la fiabilidad de la misma.

Por este motivo, los informes del Operador del Sistema poseen un valor trascendental en el establecimiento de la necesidad de disponibilidad de las instalaciones necesarias para garantizar la seguridad del suministro eléctrico en situaciones de crisis.

Asumido lo expuesto, es razonable asumir que la Ley 24/2013, de 26 de diciembre, persigue asegurar que las instalaciones de generación, transporte y distribución de energía eléctrica sean capaces de garantizar en todo momento el servicio público de suministro de energía eléctrica a todos los ciudadanos.

III

Con fecha de 30 de septiembre de 2025, la Subdirección General de Energía Eléctrica solicitó informe al Operador del Sistema en relación con las necesidades de disponibilidad de las instalaciones afectadas por la huelga prevista. Con fecha 1 de octubre de 2025, el Operador del Sistema emite informe donde indica, entre otros aspectos, lo siguiente:

«A la vista de la evaluación anterior, se propone mantener la plena disponibilidad de los generadores del Sistema Eléctrico Peninsular, a excepción de las unidades cuya indisponibilidad está programada a la fecha de emisión del informe. En particular, se requiere la disponibilidad de:

– Todas las centrales nucleares, habida cuenta del riesgo en que se incurriría en caso de parada no programada de las mismas.

– Todos los grupos hidráulicos convencionales, dado que es el recurso de generación de respuesta prácticamente inmediata.

– La totalidad de los grupos de bombeo.

– La totalidad de las centrales térmicas de carbón y gas.

Las unidades de generación de cualquier tipo que deberán acoplar, así como la carga que deberán mantener en cada momento serán, en principio, las que se deriven de las casaciones del mercado diario y de los mercados intradiarios relativos al día de la huelga, siendo posible su modificación posterior por parte Red Eléctrica en los procesos de resolución de restricciones técnicas y en tiempo real, con objeto de garantizar el funcionamiento seguro del sistema y, por tanto, el suministro eléctrico.

En el caso de los TNP, se propone la plena disponibilidad del equipo generador, a excepción de las unidades cuya indisponibilidad está programada y autorizada por el Operador del Sistema a la fecha de emisión del informe.

Red Eléctrica valorará la conveniencia de reponer las instalaciones de la red de transporte que estén fuera de servicio el día 15 de octubre por trabajos y admitan reposición.

Se deberá mantener la plena disponibilidad y operatividad de los centros de control del Operador del Sistema y de las empresas generadoras, de transporte y de distribución en todos sus niveles jerárquicos, garantizando el funcionamiento de todas las instalaciones de mando, control y comunicaciones entre los centros de control y las instalaciones de generación, transporte y distribución y con los centros de control de Red Eléctrica.

Se deberán designar los retenes y brigadas necesarias para atender tanto al mando local como a la corrección de defectos y reparación de averías que pudieren presentarse en las instalaciones de generación, de transporte y distribución y en los diferentes centros de control que, asimismo, deberán estar dotados del personal necesario para su operación».

A la vista del Informe del Operador del Sistema, y en cumplimiento de la legislación vigente, con fecha 3 de octubre de 2025, la Subdirección General de Energía Eléctrica solicita a las diferentes empresas que prestan servicios de generación, transporte y distribución de energía eléctrica, así como a sus principales asociaciones, a través de los canales oficiales, la remisión de las instalaciones que pudiesen verse afectadas por esta jornada de huelga y los servicios mínimos que considerasen oportunos con objeto de asegurar, durante dicha jornada, los niveles de fiabilidad y seguridad del Sistema a los que hace referencia el citado real decreto. En dicha solitud se pedía asimismo que indicasen el porcentaje que los referidos servicios mínimos suponen sobre el total de la plantilla para ese día.

Con la información anterior, y teniendo en cuenta lo establecido en el artículo 2 del Real Decreto 1170/1988, de 7 de octubre, se realiza una propuesta de servicios mínimos que se somete a trámite de audiencia a los interesados, otorgándoles de plazo hasta el día 9 de octubre de 2025 para remitir alegaciones.

Se han recibido alegaciones de la Asociación Nuclear Ascó-Vandellós, en las cuales manifiesta estar de acuerdo con el contenido de la propuesta de orden ministerial de servicios mínimos recibida.

Se han recibido alegaciones de Red Eléctrica de España, en las cuales señala que el oficio de solicitud de servicios mínimos, fechado el 2 de octubre de 2025, no incluía la convocatoria de huelga remitida a Ministerio el día 3 de octubre. De acuerdo con su alegación, esta convocatoria, mencionada en el oficio de trámite de audiencia, tiene un ámbito temporal nacional distinto al que se refiere el requerimiento del día 2, lo que podría provocar que los servicios mínimos comunicados por algunas empresas no se ajustaran adecuadamente al nuevo marco temporal. Posteriormente, se recibe nueva comunicación de Red Eléctrica de España, en la cual remiten modificaciones sobre su propuesta inicial de servicios mínimos. Dichas modificaciones han sido incluidas en la presente orden.

Se han recibido alegaciones del Grupo Endesa, en las que se comunica la detección de diversas erratas en la propuesta de servicios mínimos previamente remitida, acompañando una nueva versión corregida de la misma. Dicha versión ha sido incluida en la presente orden.

Se han recibido alegaciones del Consejo de Seguridad Nuclear, en las cuales manifiesta que la Dirección Técnica de Seguridad Nuclear del Consejo de Seguridad Nuclear ha estudiado la propuesta de orden mencionada y considera (i) que los servicios mínimos propuestos para las centrales nucleares Almaraz I y II, Ascó I y II, Trillo y Vandellós II son acordes con los Documentos Oficiales de Explotación (DOE) de las correspondientes instalaciones; y (ii) que para la central nuclear Cofrentes no se han incluido los servicios mínimos correspondientes a la brigada de protección contra incendios (PCI), que requiere de 7 personas por turno más 3 de retén. Los referidos los servicios mínimos correspondientes a la brigada de protección contra incendios han sido añadidos a la presente orden.

IV

Teniendo en cuenta las características de la convocatoria, el carácter de la huelga y de los servicios relacionados, y vista la Ley 24/2013, de 26 de diciembre, del Sector Eléctrico, la fijación de servicios mínimos se establece teniendo en cuenta tanto el requisito de no limitar el derecho de huelga de los trabajadores como la necesidad de garantizar tanto la seguridad del suministro de energía eléctrica como la seguridad de las personas y de las instalaciones afectadas por la huelga, y con objeto de poder atender las incidencias o situaciones de emergencia que pudiesen presentarse.

En cuanto a la competencia para dictar la presente resolución, con fundamento en el artículo 10 del Real Decreto-ley 17/1977, de 4 de marzo, sobre relaciones de trabajo, el artículo 1 del Real Decreto 1170/1988, de 7 de octubre, establece que «las situaciones de huelga que afecten al personal que preste sus servicios en las empresas de producción, de transporte y de distribución de Energía Eléctrica, se entenderán condicionadas al mantenimiento de los servicios mínimos», señalando en su artículo 2, in fine, que «el Ministro de Industria y Energía determinara, oídos los comités de huelga y las empresas, la plantilla necesaria para cubrir los servicios señalados». En este sentido, la Ley 24/2013, de 26 de diciembre, en su artículo 2, establece que constituye un servicio de interés económico general el suministro de energía eléctrica y, por tanto, las actividades que lo garantizan.

Por su parte, el tercer párrafo del artículo 2 del Real Decreto 1170/1988, de 7 de octubre, establece que la disponibilidad de las instalaciones de generación, transporte y distribución será fijada por resolución de la Delegación del Gobierno en la Explotación del Sistema Eléctrico de manera que quede garantizado el suministro de energía eléctrica, así como la seguridad de las personas y bienes en todas las instalaciones afectas a dicho servicio público. Dicha competencia, a través de las sucesivas reestructuraciones de los departamentos ministeriales, es asumida en la actualidad por la Dirección General de Política Energética y Minas. Sin embargo, en el supuesto analizado concurren circunstancias de especial complejidad técnica y relevancia estratégica para el funcionamiento del sistema eléctrico nacional, que exceden del marco ordinario de actuación de la Dirección General. En particular, la estrecha vinculación entre la determinación de la disponibilidad de las instalaciones y la fijación de los servicios mínimos implica adoptar decisiones que afectan directamente a la continuidad del suministro en todo el territorio y a la preservación de la seguridad de personas y bienes en el contexto de un servicio público esencial.

Por ello, y con el fin de garantizar una valoración más completa, integrada y ponderada de los distintos factores técnicos, sociales y territoriales concurrentes, se considera oportuno que la competencia sea avocada por el titular del Departamento. Todo ello al amparo de lo previsto en el artículo 10 de la Ley 40/2015, de 1 de octubre, de Régimen Jurídico del Sector Público, que faculta a los órganos superiores para avocar para sí el conocimiento de asuntos cuya resolución corresponda a órganos administrativos dependientes, cuando concurran circunstancias de índole técnica, económica, social, jurídica o territorial que lo hagan conveniente.

En consecuencia:

Considerando que, de acuerdo con el informe del Operador del Sistema, a excepción de las unidades cuya indisponibilidad está programada a 1 de octubre de 2025, se requiere la disponibilidad de todas las centrales nucleares, todos los grupos hidráulicos convencionales, la totalidad de los grupos de bombeo, la totalidad de las centrales térmicas de carbón y gas y la plena disponibilidad del equipo generador en el caso de los territorios no peninsulares.

Considerando que las instalaciones de transporte y distribución tienen como misión poner a disposición de los consumidores finales la energía generada en las centrales de producción y que esta transmisión debe hacerse manteniendo la seguridad y calidad adecuada, a fin de que no se resientan ni los procesos productivos, ni las distintas actividades para las que la energía eléctrica es básica y fundamental.

Teniendo además en cuenta que las instalaciones de distribución de energía eléctrica deben ser capaces de garantizar en todo momento el servicio público de suministro de energía eléctrica a todos los ciudadanos, se considera imprescindible que estos puedan comunicar las incidencias existentes con el fin de atender la corrección de defectos y reparación de averías que pudieren presentarse.

Teniendo en cuenta lo informado por el Operador del Sistema, la solicitud de servicios mínimos realizada por la empresa y las alegaciones formuladas en el trámite de audiencia, y de acuerdo con lo establecido en el último párrafo del Real Decreto 1170/1988, de 7 de octubre,

Por lo anterior, resuelvo:

Primero.

Avocar la competencia y disponer que se deberá mantener, a excepción de las unidades cuya indisponibilidad está programada y autorizada por el Operador del Sistema a 1 de octubre de 2025, la plena disponibilidad de todas las centrales nucleares, todos los grupos hidráulicos convencionales, todos los grupos de bombeo y todas las centrales térmicas de carbón y gas que operan en el sistema eléctrico peninsular y de todo el equipo generador en el caso de los territorios no peninsulares.

Segundo.

Los grupos deberán mantener en cada momento, en principio, las cargas que se deriven de las casaciones del mercado diario y de los mercados intradiarios relativos al día de la huelga, siendo posible su modificación posterior por parte Red Eléctrica en los procesos de resolución de restricciones técnicas y en tiempo real, con objeto de garantizar el funcionamiento seguro del sistema y, por tanto, el suministro eléctrico.

Tercero.

Todas las instalaciones de la red de transporte que el día de la huelga estén fuera de servicio por trabajos y admitan reposición serán repuestas.

Cuarto.

Se deberá mantener la disponibilidad y operatividad de los sistemas de comunicaciones entre las instalaciones de generación afectadas, garantizando el intercambio de señales en tiempo real y su despacho delegado, así como el funcionamiento de los mecanismos de control e intercambio de señales entre los centros de control de Red Eléctrica de España y el correspondiente despacho delegado.

Quinto.

Se deberá mantener la plena disponibilidad y operatividad de los centros de control de las empresas generadoras y de distribución en todos sus niveles jerárquicos, garantizando el funcionamiento de todas las instalaciones de mando, control y comunicaciones entre los centros de control y las instalaciones de generación, transporte y distribución y con los centros de control de Red Eléctrica de España.

Sexto.

Se deberán designar los retenes y brigadas necesarias para atender tanto al mando local como a la corrección de defectos y reparación de averías que pudieren presentarse en los diferentes centros de control y en las instalaciones de generación, distribución y transporte que, asimismo, deberán estar dotados del personal necesario para su operación.

Séptimo.

Establecer mediante la presente orden que los servicios mínimos por parte de las empresas eléctricas afectas al servicio esencial de suministro de energía eléctrica durante la huelga general del día 15 de octubre de 2025 serán los necesarios para garantizar el servicio esencial de suministro de energía eléctrica, así como la seguridad de las personas y las instalaciones afectas al mismo, que habrán de mantenerse a los niveles operativos reglamentarios.

Octavo.

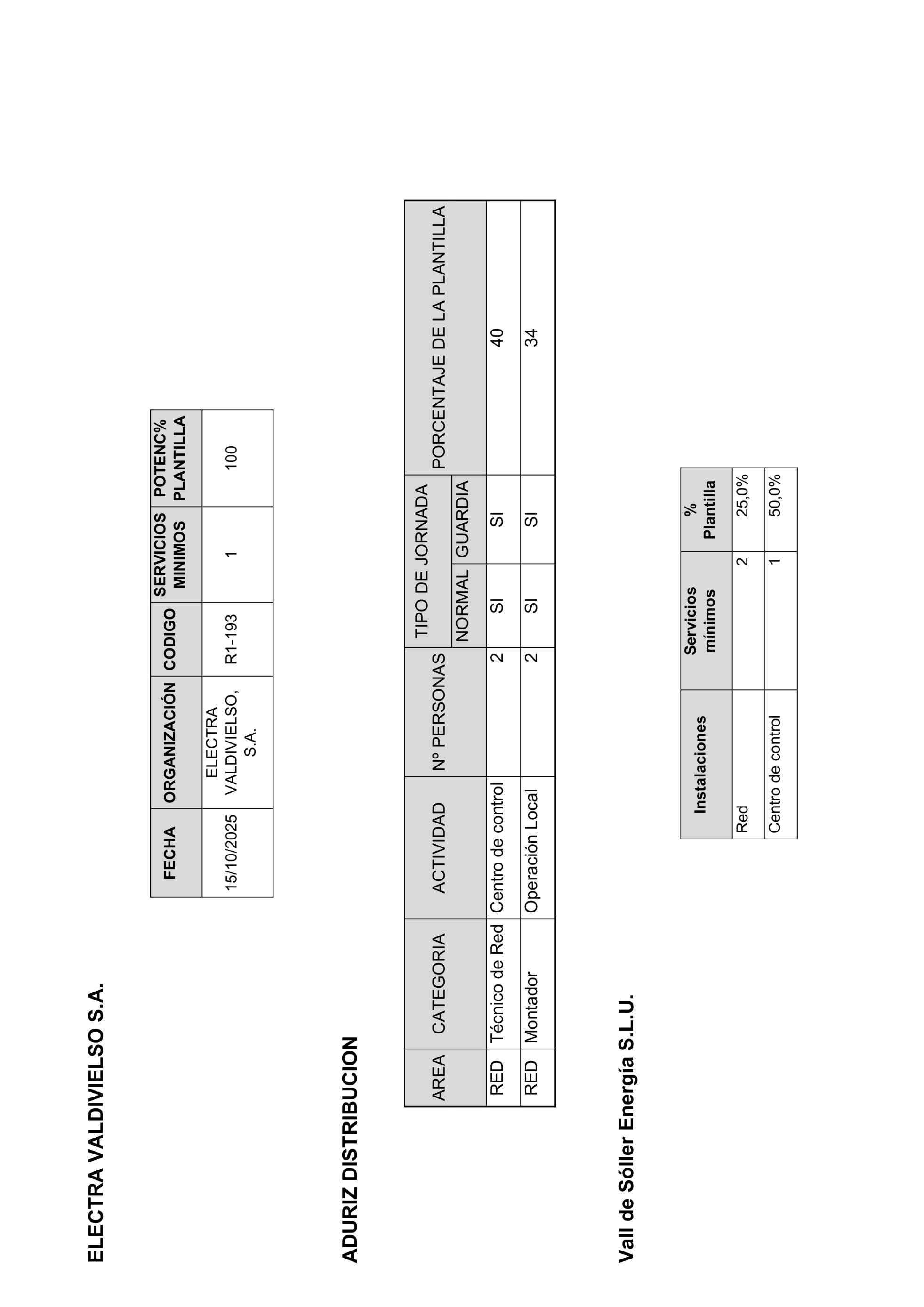
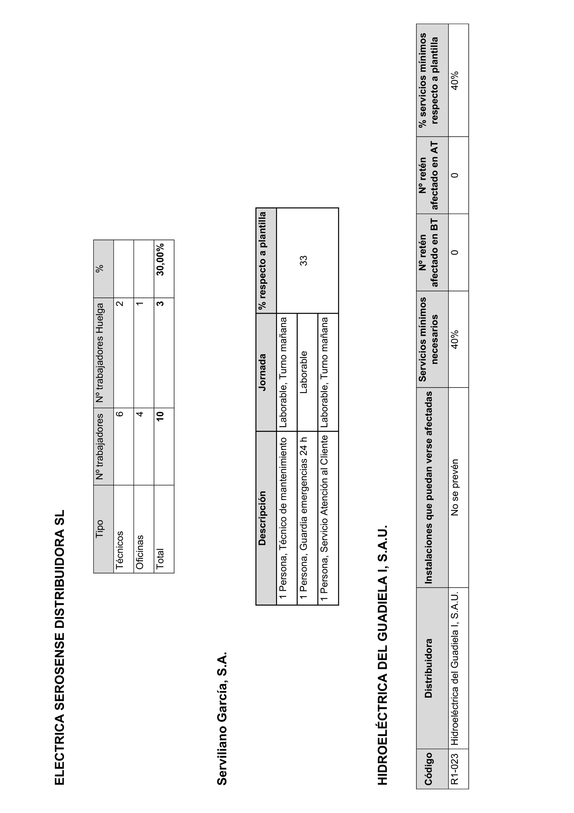
Establecer las plantillas necesarias para el cumplimiento de los servicios mínimos establecidos en el punto anterior para la citada huelga, que serán los que figuran en el anexo de esta orden.

Adicionalmente, las empresas que, encontrándose en el ámbito de aplicación de esta orden, no figuren recogidas en el referido anexo, pondrán en operación los equipos e instalaciones que se consideran estrictamente necesarios, así como el personal necesario para la cobertura de tales servicios mínimos, de acuerdo con los criterios expresados en los apartados anteriores. Se entenderá por empresas dentro del ámbito de aplicación de la orden aquellas que cuenten con personal al que, de acuerdo con el referido preaviso de huelga, les afecte la misma, y presten sus servicios en empresas de producción, de transporte y de distribución de energía eléctrica, de acuerdo con lo establecido en el artículo 1 del Real Decreto 1170/1988, de 7 de octubre.

La presente orden agota la vía administrativa, de acuerdo con lo dispuesto en el artículo 114 de la Ley 39/2015, de 1 de octubre, del Procedimiento Administrativo Común de las Administraciones Públicas. Contra la misma podrá interponerse recurso contencioso-administrativo ante la Sala de lo Contencioso-administrativo de la Audiencia Nacional en el plazo de dos meses, a contar desde el día siguiente al de la publicación de la presente resolución, de conformidad con la Ley 29/1998, de 13 de julio, reguladora de la Jurisdicción Contencioso-administrativa.

También podrá interponerse potestativamente recurso de reposición ante la Secretaría de Estado de Energía en el plazo de un mes, contado a partir del día siguiente al de la publicación, significando que, en caso de presentar recurso de reposición, no se podrá interponer recurso contencioso-administrativo hasta que se resuelva expresamente el recurso de reposición o se produzca la desestimación presunta del mismo.

Madrid, 13 de octubre de 2025.–La Vicepresidenta Tercera del Gobierno y Ministra para la Transición Ecológica y el Reto Demográfico, Sara Aagesen Muñoz.

ANEXO
Plantilla para el cumplimiento de los servicios mínimos de las empresas eléctricas afectas al servicio esencial de suministro de energía eléctrica durante la huelga general convocada por los sindicatos UGT y CCOO en todo el territorio nacional; y por los sindicatos CUT y CIG en la Comunidad Autónoma de Galicia para el día 15 de octubre de 2025

Imagen: /datos/imagenes/disp/2025/247/20574_16188199_1.png

Imagen: /datos/imagenes/disp/2025/247/20574_16188199_2.png

Imagen: /datos/imagenes/disp/2025/247/20574_16188199_3.png

Imagen: /datos/imagenes/disp/2025/247/20574_16188199_4.png

Imagen: /datos/imagenes/disp/2025/247/20574_16188199_5.png

Imagen: /datos/imagenes/disp/2025/247/20574_16188199_6.png

Imagen: /datos/imagenes/disp/2025/247/20574_16188199_7.png

Imagen: /datos/imagenes/disp/2025/247/20574_16188199_8.png

Imagen: /datos/imagenes/disp/2025/247/20574_16188199_9.png

Imagen: /datos/imagenes/disp/2025/247/20574_16188199_10.png

Imagen: /datos/imagenes/disp/2025/247/20574_16188199_11.png

Imagen: /datos/imagenes/disp/2025/247/20574_16188199_12.png

Imagen: /datos/imagenes/disp/2025/247/20574_16188199_13.png

Imagen: /datos/imagenes/disp/2025/247/20574_16188199_14.png

Imagen: /datos/imagenes/disp/2025/247/20574_16188199_15.png

Imagen: /datos/imagenes/disp/2025/247/20574_16188199_16.png

Imagen: /datos/imagenes/disp/2025/247/20574_16188199_17.png

Imagen: /datos/imagenes/disp/2025/247/20574_16188199_18.png

Imagen: /datos/imagenes/disp/2025/247/20574_16188199_19.png

Imagen: /datos/imagenes/disp/2025/247/20574_16188199_20.png

Imagen: /datos/imagenes/disp/2025/247/20574_16188199_21.png

Imagen: /datos/imagenes/disp/2025/247/20574_16188199_22.png

Imagen: /datos/imagenes/disp/2025/247/20574_16188199_23.png

Imagen: /datos/imagenes/disp/2025/247/20574_16188199_24.png

Imagen: /datos/imagenes/disp/2025/247/20574_16188199_25.png

Imagen: /datos/imagenes/disp/2025/247/20574_16188199_26.png

Imagen: /datos/imagenes/disp/2025/247/20574_16188199_27.png

Imagen: /datos/imagenes/disp/2025/247/20574_16188199_28.png

Imagen: /datos/imagenes/disp/2025/247/20574_16188199_29.png

Imagen: /datos/imagenes/disp/2025/247/20574_16188199_30.png

Imagen: /datos/imagenes/disp/2025/247/20574_16188199_31.png

Imagen: /datos/imagenes/disp/2025/247/20574_16188199_32.png

Imagen: /datos/imagenes/disp/2025/247/20574_16188199_33.png

Imagen: /datos/imagenes/disp/2025/247/20574_16188199_34.png

Imagen: /datos/imagenes/disp/2025/247/20574_16188199_35.png

Imagen: /datos/imagenes/disp/2025/247/20574_16188199_36.png

Imagen: /datos/imagenes/disp/2025/247/20574_16188199_37.png

Imagen: /datos/imagenes/disp/2025/247/20574_16188199_38.png

Imagen: /datos/imagenes/disp/2025/247/20574_16188199_39.png

Imagen: /datos/imagenes/disp/2025/247/20574_16188199_40.png

Imagen: /datos/imagenes/disp/2025/247/20574_16188199_41.png

Imagen: /datos/imagenes/disp/2025/247/20574_16188199_42.png

Imagen: /datos/imagenes/disp/2025/247/20574_16188199_43.png

Imagen: /datos/imagenes/disp/2025/247/20574_16188199_44.png

Imagen: /datos/imagenes/disp/2025/247/20574_16188199_45.png

Imagen: /datos/imagenes/disp/2025/247/20574_16188199_46.png

Imagen: /datos/imagenes/disp/2025/247/20574_16188199_47.png

Imagen: /datos/imagenes/disp/2025/247/20574_16188199_48.png

Imagen: /datos/imagenes/disp/2025/247/20574_16188199_49.png

Imagen: /datos/imagenes/disp/2025/247/20574_16188199_50.png

Imagen: /datos/imagenes/disp/2025/247/20574_16188199_51.png

Imagen: /datos/imagenes/disp/2025/247/20574_16188199_52.png

Imagen: /datos/imagenes/disp/2025/247/20574_16188199_53.png

Imagen: /datos/imagenes/disp/2025/247/20574_16188199_54.png

Imagen: /datos/imagenes/disp/2025/247/20574_16188199_55.png

Imagen: /datos/imagenes/disp/2025/247/20574_16188199_56.png

Imagen: /datos/imagenes/disp/2025/247/20574_16188199_57.png

Imagen: /datos/imagenes/disp/2025/247/20574_16188199_58.png

Imagen: /datos/imagenes/disp/2025/247/20574_16188199_59.png

Imagen: /datos/imagenes/disp/2025/247/20574_16188199_60.png

Imagen: /datos/imagenes/disp/2025/247/20574_16188246_1.png

Imagen: /datos/imagenes/disp/2025/247/20574_16188246_2.png

Imagen: /datos/imagenes/disp/2025/247/20574_16188246_3.png

Imagen: /datos/imagenes/disp/2025/247/20574_16188246_4.png

Imagen: /datos/imagenes/disp/2025/247/20574_16188246_5.png

Imagen: /datos/imagenes/disp/2025/247/20574_16188246_6.png

Imagen: /datos/imagenes/disp/2025/247/20574_16188246_7.png

Imagen: /datos/imagenes/disp/2025/247/20574_16188246_8.png

Imagen: /datos/imagenes/disp/2025/247/20574_16188246_9.png

Imagen: /datos/imagenes/disp/2025/247/20574_16188246_10.png

Imagen: /datos/imagenes/disp/2025/247/20574_16188246_11.png

Imagen: /datos/imagenes/disp/2025/247/20574_16188246_12.png

Imagen: /datos/imagenes/disp/2025/247/20574_16188246_13.png

Imagen: /datos/imagenes/disp/2025/247/20574_16188246_14.png

Imagen: /datos/imagenes/disp/2025/247/20574_16188246_15.png

Imagen: /datos/imagenes/disp/2025/247/20574_16188247_1.png

Imagen: /datos/imagenes/disp/2025/247/20574_16188247_2.png

Imagen: /datos/imagenes/disp/2025/247/20574_16188247_3.png

Imagen: /datos/imagenes/disp/2025/247/20574_16188247_4.png

Imagen: /datos/imagenes/disp/2025/247/20574_16188247_5.png

Imagen: /datos/imagenes/disp/2025/247/20574_16188247_6.png

Imagen: /datos/imagenes/disp/2025/247/20574_16188247_7.png

Imagen: /datos/imagenes/disp/2025/247/20574_16188247_8.png

Imagen: /datos/imagenes/disp/2025/247/20574_16188247_9.png

Imagen: /datos/imagenes/disp/2025/247/20574_16188247_10.png

Imagen: /datos/imagenes/disp/2025/247/20574_16188247_11.png

Imagen: /datos/imagenes/disp/2025/247/20574_16188247_12.png

Imagen: /datos/imagenes/disp/2025/247/20574_16188247_13.png

Imagen: /datos/imagenes/disp/2025/247/20574_16188247_14.png

Imagen: /datos/imagenes/disp/2025/247/20574_16188247_15.png

Imagen: /datos/imagenes/disp/2025/247/20574_16188247_16.png

Imagen: /datos/imagenes/disp/2025/247/20574_16188711_1.png

Imagen: /datos/imagenes/disp/2025/247/20574_16188711_2.png

Imagen: /datos/imagenes/disp/2025/247/20574_16188711_3.png

Imagen: /datos/imagenes/disp/2025/247/20574_16188711_4.png

Imagen: /datos/imagenes/disp/2025/247/20574_16188711_5.png

Imagen: /datos/imagenes/disp/2025/247/20574_16188711_6.png

Imagen: /datos/imagenes/disp/2025/247/20574_16188711_7.png

Imagen: /datos/imagenes/disp/2025/247/20574_16188711_8.png

Imagen: /datos/imagenes/disp/2025/247/20574_16188711_9.png

Imagen: /datos/imagenes/disp/2025/247/20574_16188711_10.png

Imagen: /datos/imagenes/disp/2025/247/20574_16188711_11.png

Imagen: /datos/imagenes/disp/2025/247/20574_16188711_12.png

Imagen: /datos/imagenes/disp/2025/247/20574_16188711_13.png

Imagen: /datos/imagenes/disp/2025/247/20574_16188711_14.png

Imagen: /datos/imagenes/disp/2025/247/20574_16188711_15.png

Imagen: /datos/imagenes/disp/2025/247/20574_16188711_16.png

Imagen: /datos/imagenes/disp/2025/247/20574_16188711_17.png

Imagen: /datos/imagenes/disp/2025/247/20574_16188711_18.png

Imagen: /datos/imagenes/disp/2025/247/20574_16188711_19.png

Imagen: /datos/imagenes/disp/2025/247/20574_16188711_20.png

Imagen: /datos/imagenes/disp/2025/247/20574_16188711_21.png

Imagen: /datos/imagenes/disp/2025/247/20574_16188711_22.png

Imagen: /datos/imagenes/disp/2025/247/20574_16188711_23.png

Imagen: /datos/imagenes/disp/2025/247/20574_16188711_24.png

Imagen: /datos/imagenes/disp/2025/247/20574_16188711_25.png

Imagen: /datos/imagenes/disp/2025/247/20574_16188711_26.png

Imagen: /datos/imagenes/disp/2025/247/20574_16188711_27.png

Imagen: /datos/imagenes/disp/2025/247/20574_16188711_28.png

Imagen: /datos/imagenes/disp/2025/247/20574_16188711_29.png

Imagen: /datos/imagenes/disp/2025/247/20574_16188711_30.png

Imagen: /datos/imagenes/disp/2025/247/20574_16188711_31.png

Imagen: /datos/imagenes/disp/2025/247/20574_16188711_32.png

Imagen: /datos/imagenes/disp/2025/247/20574_16188711_33.png

Imagen: /datos/imagenes/disp/2025/247/20574_16188711_34.png

Imagen: /datos/imagenes/disp/2025/247/20574_16188711_35.png

Imagen: /datos/imagenes/disp/2025/247/20574_16188711_36.png

Imagen: /datos/imagenes/disp/2025/247/20574_16188711_37.png

Imagen: /datos/imagenes/disp/2025/247/20574_16188711_38.png

Imagen: /datos/imagenes/disp/2025/247/20574_16188711_39.png

Imagen: /datos/imagenes/disp/2025/247/20574_16188711_40.png

Imagen: /datos/imagenes/disp/2025/247/20574_16188711_41.png

Imagen: /datos/imagenes/disp/2025/247/20574_16188711_42.png

Imagen: /datos/imagenes/disp/2025/247/20574_16188711_43.png

Imagen: /datos/imagenes/disp/2025/247/20574_16188711_44.png

Imagen: /datos/imagenes/disp/2025/247/20574_16188711_45.png

Imagen: /datos/imagenes/disp/2025/247/20574_16188711_46.png

Imagen: /datos/imagenes/disp/2025/247/20574_16188711_47.png

Imagen: /datos/imagenes/disp/2025/247/20574_16188711_48.png

Imagen: /datos/imagenes/disp/2025/247/20574_16188711_49.png

Imagen: /datos/imagenes/disp/2025/247/20574_16188776_1.png

Imagen: /datos/imagenes/disp/2025/247/20574_16188776_2.png

Imagen: /datos/imagenes/disp/2025/247/20574_16188776_3.png

Imagen: /datos/imagenes/disp/2025/247/20574_16188776_4.png

Imagen: /datos/imagenes/disp/2025/247/20574_16188776_5.png

Imagen: /datos/imagenes/disp/2025/247/20574_16188776_6.png

Imagen: /datos/imagenes/disp/2025/247/20574_16188776_7.png

Imagen: /datos/imagenes/disp/2025/247/20574_16188776_8.png

Imagen: /datos/imagenes/disp/2025/247/20574_16188776_9.png

Imagen: /datos/imagenes/disp/2025/247/20574_16188776_10.png

Imagen: /datos/imagenes/disp/2025/247/20574_16188776_11.png

Imagen: /datos/imagenes/disp/2025/247/20574_16188776_12.png

Imagen: /datos/imagenes/disp/2025/247/20574_16188776_13.png

Imagen: /datos/imagenes/disp/2025/247/20574_16188776_14.png

Imagen: /datos/imagenes/disp/2025/247/20574_16188776_15.png

Imagen: /datos/imagenes/disp/2025/247/20574_16188776_16.png

Imagen: /datos/imagenes/disp/2025/247/20574_16188776_17.png

Imagen: /datos/imagenes/disp/2025/247/20574_16188776_18.png

Imagen: /datos/imagenes/disp/2025/247/20574_16188776_19.png

Imagen: /datos/imagenes/disp/2025/247/20574_16188776_20.png

Imagen: /datos/imagenes/disp/2025/247/20574_16188776_21.png

Imagen: /datos/imagenes/disp/2025/247/20574_16188776_22.png

Imagen: /datos/imagenes/disp/2025/247/20574_16188776_23.png

Imagen: /datos/imagenes/disp/2025/247/20574_16188776_24.png

Imagen: /datos/imagenes/disp/2025/247/20574_16188776_25.png

Imagen: /datos/imagenes/disp/2025/247/20574_16188776_26.png

Imagen: /datos/imagenes/disp/2025/247/20574_16188776_27.png

Imagen: /datos/imagenes/disp/2025/247/20574_16188776_28.png

Imagen: /datos/imagenes/disp/2025/247/20574_16188776_29.png

Imagen: /datos/imagenes/disp/2025/247/20574_16188776_30.png

Imagen: /datos/imagenes/disp/2025/247/20574_16188776_31.png

Imagen: /datos/imagenes/disp/2025/247/20574_16188776_32.png

Imagen: /datos/imagenes/disp/2025/247/20574_16188776_33.png

Imagen: /datos/imagenes/disp/2025/247/20574_16188776_34.png

Imagen: /datos/imagenes/disp/2025/247/20574_16188776_35.png

Imagen: /datos/imagenes/disp/2025/247/20574_16188776_36.png

Imagen: /datos/imagenes/disp/2025/247/20574_16188776_37.png

Imagen: /datos/imagenes/disp/2025/247/20574_16188776_38.png

Imagen: /datos/imagenes/disp/2025/247/20574_16188776_39.png

Imagen: /datos/imagenes/disp/2025/247/20574_16188776_40.png

subir

Agence d'État Bulletin Officiel de l'État

Av. Manoteras, 54 - 28050 Madrid